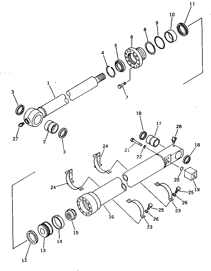
Запчасти Komatsu PC200-3 ЦИЛИНДР КОВША (ДЛЯ .8M КОРОТК. РУКОЯТЬ) (№-..) РАБОЧЕЕ ОБОРУДОВАНИЕ

Схема запчастей Komatsu PC200-3 - ЦИЛИНДР КОВША (ДЛЯ .8M КОРОТК. РУКОЯТЬ) (№-..) РАБОЧЕЕ ОБОРУДОВАНИЕ
FIT
1:1
100%

Артикул

Название

Примечание

Количество

|$0

205-63-72301

CYLINDER ASS'Y

|$1

205-63-72300

CYLINDER ASS'Y

1

205-63-72320

ROD,PISTON

2

707-76-70120

BUSHING

3

21K-70-12180

SEAL,DUST

4

707-75-10020

RING,SNAP

5

707-76-85510

SEAL,DUST

6

707-27-12470

HEAD,CYLINDER

7

01010-81655

BOLT

8

07146-02116

RING,BACK-UP

9

07000-12115

O-RING

10

707-56-10850

BUSHING

11

707-51-85211

PACKING,ROD

12

707-44-12080

RING,PISTON

13

707-36-12360

PISTON

14

07155-01230

RING,WEAR

15

707-68-10580

NUT

16

205-63-72341

CYLINDER

16

205-63-72340

CYLINDER

17

707-76-70110

BUSHING

18

07145-00070

SEAL,DUST

19

707-87-11710

BLOCK

20

07000-13030

O-RING

21

01011-51210

BOLT

22

01602-21236

WASHER,SPRING

23

707-88-99240

BAND

24

707-88-99270

BAND

25

01010-51035

BOLT

26

01602-21030

WASHER,SPRING

27

07020-00000

FITTING,GREASE

28

07020-00900

FITTING,GREASE

Выбрано товаров: 31