Запчасти Komatsu PC200-3 TWO ЧАСТИ СТРЕЛА (/) РАБОЧЕЕ ОБОРУДОВАНИЕ

Схема запчастей Komatsu PC200-3 - TWO ЧАСТИ СТРЕЛА (/) РАБОЧЕЕ ОБОРУДОВАНИЕ
FIT
1:1
100%

Артикул

Название

Примечание

Количество

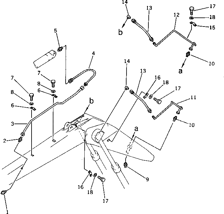
1

07020-00000

FITTING,GREASE

2

07213-50813

CONNECTOR

3

205-946-7350

TUBE

4

205-70-51360

HOSE, 540MM

5

205-70-51390

NIPPLE

6

205-70-51420

CLIP

7

01010-50612

BOLT

8

01602-20619

WASHER,SPRING

9

07020-00900

FITTING,GREASE

9

07020-00000

FITTING,GREASE

10

07213-50813

CONNECTOR

11

205-946-7210

TUBE

12

205-946-7220

TUBE

13

205-70-51360

HOSE, 540MM

14

205-70-51380

ELBOW

15

21K-70-11310

CLIP

16

205-70-51420

CLIP

17

01010-50612

BOLT

18

01602-20619

WASHER,SPRING

Выбрано товаров: 19