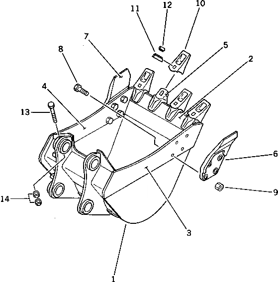
Запчасти Komatsu PC200-3 КОВШ¤ .M ШИР. 7MM (ДЛЯ FEET УДЛИНН. РУКОЯТЬ И СТРЕЛА) РАБОЧЕЕ ОБОРУДОВАНИЕ

Схема запчастей Komatsu PC200-3 - КОВШ¤ .M ШИР. 7MM (ДЛЯ FEET УДЛИНН. РУКОЯТЬ И СТРЕЛА) РАБОЧЕЕ ОБОРУДОВАНИЕ
FIT
1:1
100%

Артикул

Название

Примечание

Количество

1

203-926-4311

BUCKET

2

203-926-3321

PLATE (WELDED)

3

202-70-43131

PLATE,L.H. (WELDED)

4

202-70-43121

PLATE,R.H. (WELDED)

5

203-70-43190

ADAPTER (WELDED)

6

203-70-43260

CUTTER,L.H.

7

203-70-43270

CUTTER,R.H.

8

01802-02262

BOLT

9

01803-02228

NUT

10

203-70-43180

TOOTH

11

203-70-43210

PIN

12

203-70-43220

LOCK

13

01011-51640

BOLT

14

01580-11613

NUT

Выбрано товаров: 14