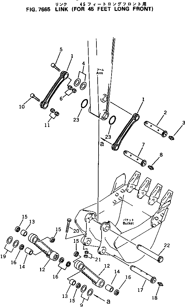
Запчасти Komatsu PC200-3 СОЕДИНИТЕЛЬН. ЗВЕНО (ДЛЯ FEET УДЛИНН. РУКОЯТЬ И СТРЕЛА) РАБОЧЕЕ ОБОРУДОВАНИЕ

Схема запчастей Komatsu PC200-3 - СОЕДИНИТЕЛЬН. ЗВЕНО (ДЛЯ FEET УДЛИНН. РУКОЯТЬ И СТРЕЛА) РАБОЧЕЕ ОБОРУДОВАНИЕ
FIT
1:1
100%

Артикул

Название

Примечание

Количество

1

203-70-44490

LINK,L.H.

1

203-70-44510

LINK,R.H.

2

203-70-44350

PIN

3

07020-00000

FITTING,GREASE

4

203-70-24150

SPACER, 1.0MM

4

203-70-24160

SPACER, 2.0MM

5

01019-11620

BOLT

6

01580-11613

NUT

7

203-70-44360

PIN

8

07020-00000

FITTING,GREASE

9

202-70-48460

SPACER, 1.0MM

10

01019-11620

BOLT

11

01580-11613

NUT

|$13

203-70-00141

LINK ASS'Y

12

LINK

13

203-70-44330

BUSHING

14

203-70-33150

BUSHING

15

203-70-44230

SEAL,DUST

16

203-70-33210

SEAL,DUST

17

203-70-44370

PIN

18

07020-00000

FITTING,GREASE

19

203-70-24150

SPACER, 1.0MM

19

203-70-24160

SPACER, 2.0MM

20

01011-51640

BOLT

21

01580-11613

NUT

22

203-70-44380

PIN

23

203-70-44470

O-RING

Выбрано товаров: 27