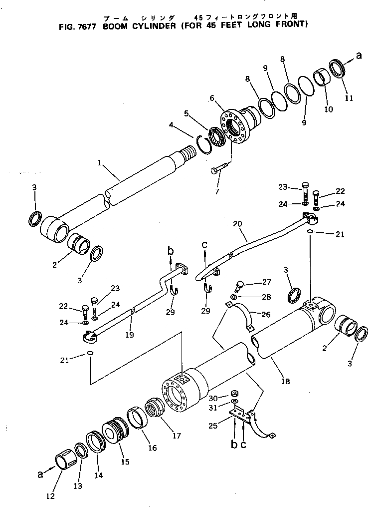
Запчасти Komatsu PC200-3 ЦИЛИНДР СТРЕЛЫ(ДЛЯ FEET УДЛИНН. РУКОЯТЬ И СТРЕЛА) РАБОЧЕЕ ОБОРУДОВАНИЕ

Схема запчастей Komatsu PC200-3 - ЦИЛИНДР СТРЕЛЫ(ДЛЯ FEET УДЛИНН. РУКОЯТЬ И СТРЕЛА) РАБОЧЕЕ ОБОРУДОВАНИЕ
FIT
1:1
100%

Артикул

Название

Примечание

Количество

|$0

206-63-52100

BOOM CYLINDER ASS'Y,L.H.

|$1

206-63-52200

BOOM CYLINDER ASS'Y,R.H.

|$2

206-63-52110

CYLINDER SUB ASS'Y

1

206-63-52120

ROD,PISTON

2

707-76-80010

BUSHING

3

07145-00080

SEAL,DUST

4

07179-00113

RING,SNAP

5

195-63-94170

SEAL,DUST

6

707-28-13170

HEAD,CYLINDER

7

01010-81655

BOLT

8

07146-02126

RING,BACK-UP

9

07000-12125

O-RING

10

07177-09040

BUSHING

11

707-51-90211

PACKING,ROD

12

707-71-50920

PLUNGER

13

707-40-13470

RETAINER

14

707-44-13080

RING,PISTON

15

707-36-13460

PISTON

16

07155-01330

RING,WEAR

17

707-68-10680

NUT

18

206-63-52140

CYLINDER

19

206-63-52170

TUBE,L.H.

19

206-63-52270

TUBE,R.H.

20

206-63-52180

TUBE,L.H.

20

206-63-52280

TUBE,R.H.

21

07000-13030

O-RING

22

01010-50845

BOLT

23

01010-50855

BOLT

24

01602-20825

WASHER,SPRING

25

707-88-99330

BRACKET

26

707-88-99310

BAND

27

01010-51030

BOLT

28

01602-21030

WASHER,SPRING

29

07283-22738

CLIP

30

01599-01011

NUT

31

01643-31032

WASHER

Выбрано товаров: 36