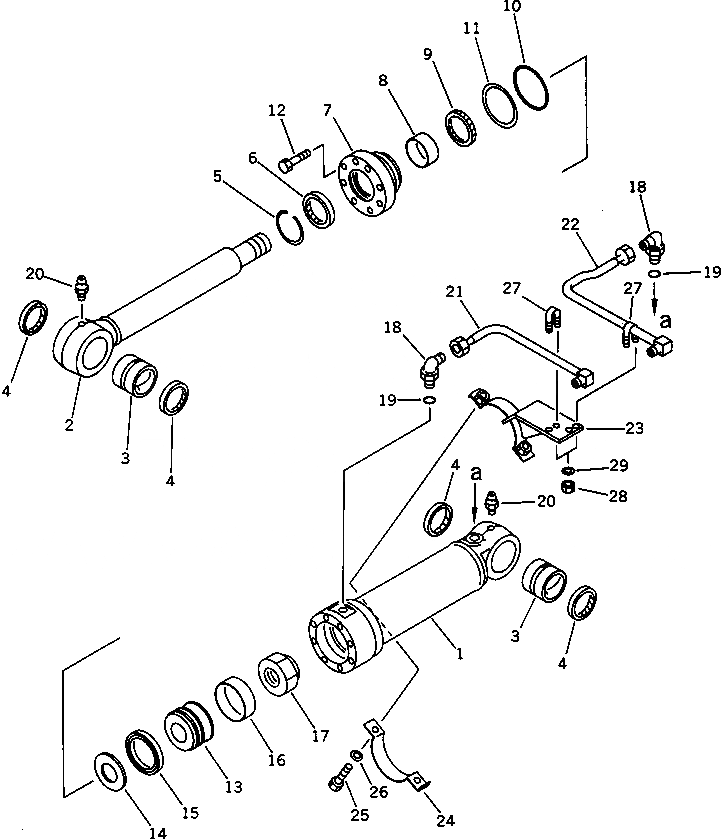
Запчасти Komatsu PC200-3 MAGIC ЦИЛИНДР РУКОЯТИ РАБОЧЕЕ ОБОРУДОВАНИЕ

Схема запчастей Komatsu PC200-3 - MAGIC ЦИЛИНДР РУКОЯТИ РАБОЧЕЕ ОБОРУДОВАНИЕ
FIT
1:1
100%

Артикул

Название

Примечание

Количество

|$0

205-63-07010

CYLINDER ASS'Y

1

205-63-93140

CYLINDER

2

205-63-93120

ROD,PISTON

3

707-76-60080

BUSHING

4

07145-00060

SEAL,DUST

5

07179-12074

RING,SNAP

6

07016-20608

SEAL,DUST

7

707-27-90270

HEAD,CYLINDER

8

07177-06030

BUSHING

9

707-51-60211

PACKING,ROD

10

07000-12090

O-RING

11

707-35-90951

RING,BACK-UP

12

01010-51450

BOLT

13

707-36-90371

PISTON

14

707-41-10060

PLATE

15

707-44-90180

RING,PISTON

16

07155-09025

RING,WEAR

17

07165-14244

NUT

18

07235-10315

ELBOW

19

07002-12034

O-RING

20

07020-00000

FITTING,GREASE

21

205-917-2220

TUBE

22

205-917-2230

TUBE

23

205-917-2240

BAND

24

707-88-99950

BAND

25

01010-51035

BOLT

26

01643-21032

WASHER

27

07283-21529

CLIP

28

01598-00809

NUT

29

01643-30823

WASHER

Выбрано товаров: 30