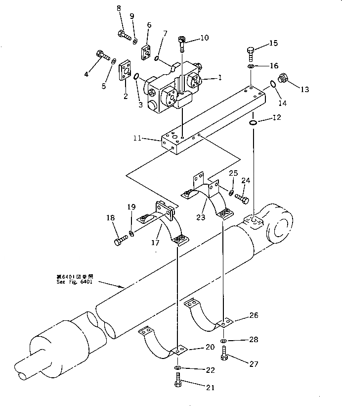
Запчасти Komatsu PC200-3 СТОПОРН. КЛАПАН ЦИЛИНДРА СТРЕЛЫ (REXROTH) (КРОМЕ ЯПОН.) ОПЦИОННЫЕ КОМПОНЕНТЫ

Схема запчастей Komatsu PC200-3 - СТОПОРН. КЛАПАН ЦИЛИНДРА СТРЕЛЫ (REXROTH) (КРОМЕ ЯПОН.) ОПЦИОННЫЕ КОМПОНЕНТЫ
FIT
1:1
100%

Артикул

Название

Примечание

Количество

1

21P-60-11140

VALVE

2

205-62-72910

FLANGE

3

07000-13030

O-RING

4

01010-51035

BOLT

5

01643-31032

WASHER

6

205-62-72930

FLANGE

7

07000-03022

O-RING

8

01010-50822

BOLT

9

01643-50823

WASHER

10

01252-41050

BOLT

11

205-62-72860

BLOCK

12

07000-13025

O-RING

13

195-78-22640

PLUG

14

07002-12034

O-RING

15

206-62-43680

SPACER

16

07000-13030

O-RING

17

01010-50860

BOLT

18

01643-30823

WASHER

19

205-62-72940

BRACKET

20

01010-51045

BOLT

21

01643-31032

WASHER

22

205-62-72630

CLAMP

23

01010-51035

BOLT

24

01643-51032

WASHER

25

205-62-72960

BRACKET

26

01010-51020

BOLT

27

01643-31032

WASHER

28

205-62-72630

CLAMP

29

01010-51035

BOLT

30

01643-51032

WASHER

Выбрано товаров: 30