Запчасти Komatsu PC200-3 ГИДРАВЛ КЛАПАН ТРУБЫ (ДЛЯ FREE ПОВОРОТН.) (/) (КРОМЕ ЯПОН.) СПЕЦ. APPLICATION ЧАСТИ¤ МАРКИРОВКА¤ ИНСТРУМЕНТ И РЕМКОМПЛЕКТЫ

Схема запчастей Komatsu PC200-3 - ГИДРАВЛ КЛАПАН ТРУБЫ (ДЛЯ FREE ПОВОРОТН.) (/) (КРОМЕ ЯПОН.) СПЕЦ. APPLICATION ЧАСТИ¤ МАРКИРОВКА¤ ИНСТРУМЕНТ И РЕМКОМПЛЕКТЫ
FIT
1:1
100%

Артикул

Название

Примечание

Количество

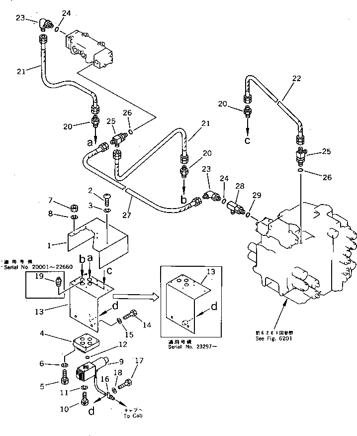
1

205-62-74550

COVER

2

01220-40516

SCREW

3

01601-20513

WASHER,SPRING

4

205-62-74211

BLOCK

5

01252-40535

BOLT

6

01601-20513

WASHER,SPRING

7

01580-10504

NUT

8

01601-20513

WASHER,SPRING

9

205-62-74571

VALVE,SOLENOID

10

01252-40550

BOLT

11

01601-20513

WASHER,SPRING

12

205-62-74580

O-RING

13

205-62-74221

BRACKET

14

01010-51225

BOLT

15

01643-31232

WASHER

16

08036-01814

CLIP

17

01010-51025

BOLT

18

01643-31032

WASHER

19

07042-30312

PLUG

20

22W-62-17710

NIPPLE

21

07102-20206

HOSE

22

07102-20212

HOSE

23

07235-10210

ELBOW

24

07002-01423

O-RING

25

208-62-17550

TEE

26

07002-01423

O-RING

27

07102-20210

HOSE

28

205-62-74381

ELBOW

29

07002-02434

O-RING

Выбрано товаров: 29