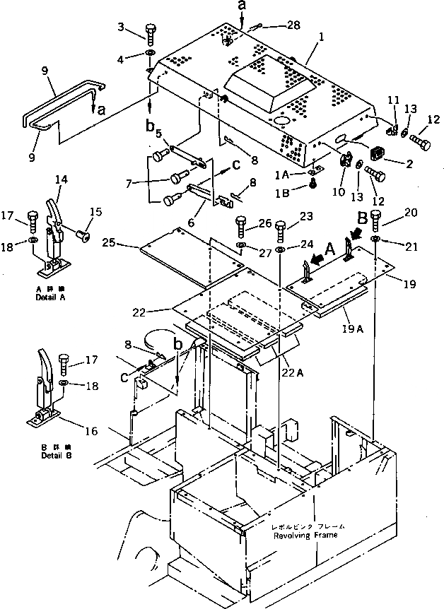
Запчасти Komatsu PC200-3 MACHINERY ОБСТАНОВКА (/)(№-7) ОСНОВНАЯ РАМА И КАБИНА

Схема запчастей Komatsu PC200-3 - MACHINERY ОБСТАНОВКА (/)(№-7) ОСНОВНАЯ РАМА И КАБИНА
FIT
1:1
100%

Артикул

Название

Примечание

Количество

1

205-54-75382

HOOD

1A

205-54-68440

PLATE

1B

01224-40620

SCREW

2

209-54-12280

HANDLE

3

01010-51230

BOLT

4

01643-31232

WASHER

5

205-54-75322

STAY

6

205-54-65940

STAY

7

04205-11228

PIN

8

04052-01253

PIN,SNAP

9

205-54-75342

SPRING

10

205-54-67660

SUPPORT

11

205-54-67660

SUPPORT

|11

205-54-65850

SUPPORT

12

01010-50825

BOLT

13

01643-30823

WASHER

14

205-54-76260

CATCHER

15

205-54-76280

ROTOR ASS'Y

16

205-54-76530

CATCHER

|16

205-54-12860

CATCHER

17

01010-50825

BOLT

18

01643-30823

WASHER

19

205-54-76121

COVER

19A

205-54-75621

SHEET

20

01010-51230

BOLT

21

01643-31232

WASHER

22

205-54-76111

COVER

22A

205-54-75611

SHEET

23

01010-51230

BOLT

24

01643-31232

WASHER

25

205-54-76132

COVER

26

01010-51230

BOLT

27

01643-31232

WASHER

28

04050-13030

PIN,COTTER

Выбрано товаров: 34