Запчасти Komatsu PC200-3 УПРАВЛЯЮЩ. КЛАПАН (/7) (ДЛЯ WRIST УПРАВЛ-Е)(№-) УПРАВЛ-Е РАБОЧИМ ОБОРУДОВАНИЕМ

Схема запчастей Komatsu PC200-3 - УПРАВЛЯЮЩ. КЛАПАН (/7) (ДЛЯ WRIST УПРАВЛ-Е)(№-) УПРАВЛ-Е РАБОЧИМ ОБОРУДОВАНИЕМ
FIT
1:1
100%

Артикул

Название

Примечание

Количество

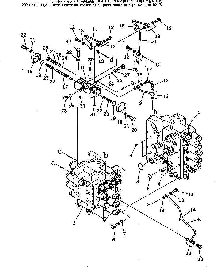
|1

709-79-12102

CONTROL VALVE ASS'Y

|1

709-79-12101

CONTROL VALVE ASS'Y

|1

709-79-12100

CONTROL VALVE ASS'Y

1

709-75-92101

VALVE ASS'Y

|1

709-75-92100

VALVE ASS'Y

2

709-75-00020

VALVE ASS'Y

|2

709-74-92101

VALVE ASS'Y

|2

709-74-92100

VALVE ASS'Y

3

07000-13038

O-RING

4

07000-02010

O-RING

5

07000-13028

O-RING

6

01010-51040

BOLT

7

01643-31032

WASHER

8

707-79-11130

TUBE

9

709-79-11110

TUBE

10

709-79-11140

TUBE

11

709-79-11120

TUBE

12

07206-30508

BOLT,JOINT

13

07005-00812

GASKET

14

08036-31210

CLIP

15

08036-31214

CLIP

|16

709-70-91101

SHUTTLE VALVE ASS'Y

16

BODY

17

SPOOL

18

709-70-91150

PLATE

19

07000-13025

O-RING

20

01010-50825

BOLT

21

01643-30823

WASHER

22

706-73-77140

PLATE

23

709-70-91130

SPRING

24

04260-00793

BALL

25

709-70-91170

PLUG

26

07000-01007

O-RING

27

07002-01423

O-RING

28

07040-11409

PLUG

29

07002-01423

O-RING

30

07043-70108

PLUG

31

07000-11009

O-RING

32

01010-50855

BOLT

33

01643-30823

WASHER

Выбрано товаров: 40