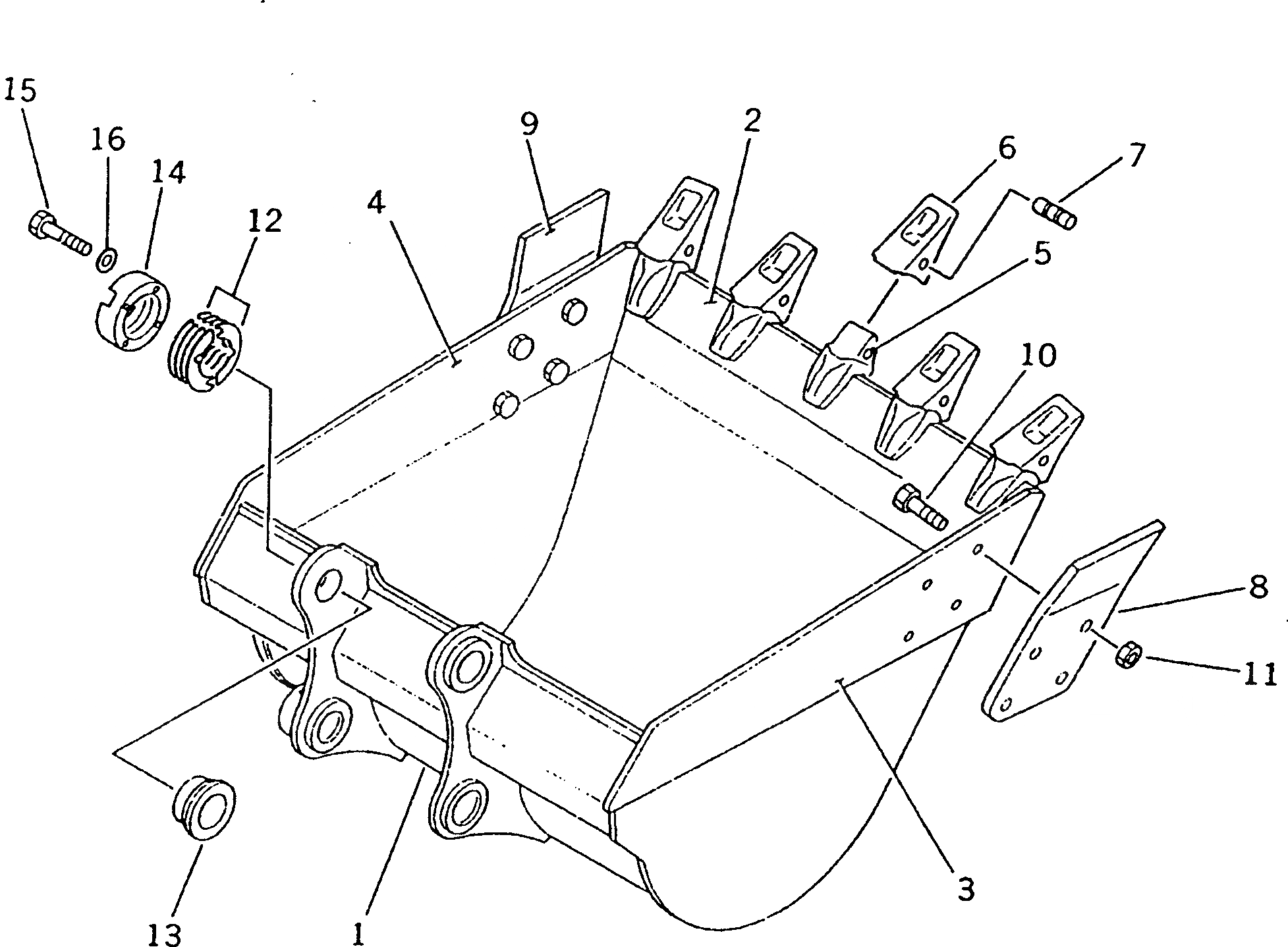
Запчасти Komatsu PC200-3 КОВШ¤ .7M¤ ШИР. MM¤ ГОРИЗОНТАЛЬН. ПАЛЕЦ(№-) РАБОЧЕЕ ОБОРУДОВАНИЕ

Схема запчастей Komatsu PC200-3 - КОВШ¤ .7M¤ ШИР. MM¤ ГОРИЗОНТАЛЬН. ПАЛЕЦ(№-) РАБОЧЕЕ ОБОРУДОВАНИЕ
FIT
1:1
100%

Артикул

Название

Примечание

Количество

1

205-70-74510

BUCKET

2

205-70-74151

PLATE (WELDED)

|2

205-70-74150

PLATE (WELDED)

3

205-70-74162

PLATE,L.H. (WELDED)

|3

205-70-74161

PLATE,L.H. (WELDED)

4

205-70-74172

PLATE,R.H. (WELDED)

|4

205-70-74171

PLATE,R.H. (WELDED)

5

205-939-7120

ADAPTER (WELDED)

6

205-70-19570

TOOTH

7

09244-02496

PIN

8

205-70-74180

CUTTER,L.H.

9

205-70-74190

CUTTER,R.H.

10

176-32-11210

BOLT¤ SHOE

11

01803-02430

NUT

12

205-70-00101

SHIM ASS'Y

|12

SHIM¤ 0.5MM

|12

SHIM¤ 1.0MM

13

205-70-74381

SPACER

14

205-70-74391

PLATE

15

01010-52055

BOLT

16

01643-32060

WASHER

Выбрано товаров: 21