Запчасти Komatsu PC200-3 КОВШ¤ .9M¤ ШИР. MM¤ С БОКОРЕЗЫ(№-) РАБОЧЕЕ ОБОРУДОВАНИЕ

Схема запчастей Komatsu PC200-3 - КОВШ¤ .9M¤ ШИР. MM¤ С БОКОРЕЗЫ(№-) РАБОЧЕЕ ОБОРУДОВАНИЕ
FIT
1:1
100%

Артикул

Название

Примечание

Количество

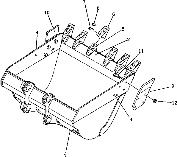
1

20Y-920-1210

BUCKET

2

20Y-920-1220

PLATE (WELDED)

3

20Y-70-14131

PLATE (WELDED)

4

20Y-70-14141

PLATE (WELDED)

5

20Y-70-14180

ADAPTER (WELDED)

6

205-70-74272

TOOTH

7

205-70-74281

PIN

8

205-70-74291

LOCK

9

205-70-74180

CUTTER,L.H.

10

205-70-74190

CUTTER,R.H.

11

176-32-11210

BOLT¤ SHOE

12

01803-02430

NUT

Выбрано товаров: 12