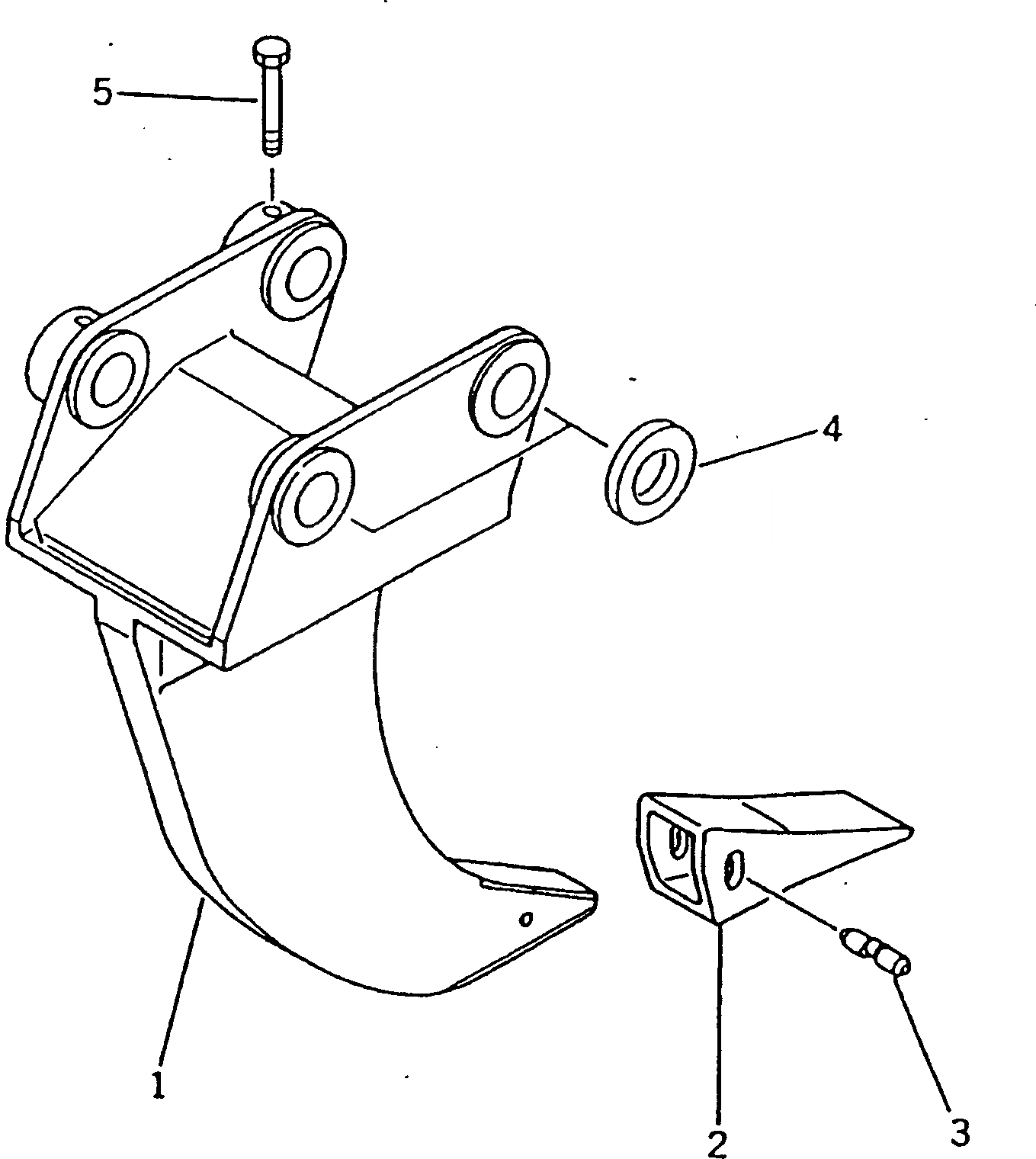
Запчасти Komatsu PC200-3 ОДНОЗУБЫЙ РЫХЛИТЕЛЬ РАБОЧЕЕ ОБОРУДОВАНИЕ

Схема запчастей Komatsu PC200-3 - ОДНОЗУБЫЙ РЫХЛИТЕЛЬ РАБОЧЕЕ ОБОРУДОВАНИЕ
FIT
1:1
100%

Артикул

Название

Примечание

Количество

|1

205-950-0012

RIPPER ASS'Y,SINGLE SHANK

1

RIPPER

2

175-78-31230

POINT

3

09244-02508

PIN

4

205-70-74410

COLLAR

5

205-70-73190

BOLT

Выбрано товаров: 6