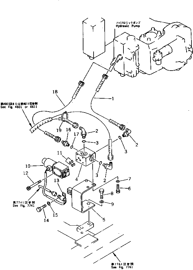
Запчасти Komatsu PC200-3 O.L.S.S. ТРУБЫ (ДЛЯ MAGIC РУКОЯТЬ) РАБОЧЕЕ ОБОРУДОВАНИЕ

Схема запчастей Komatsu PC200-3 - O.L.S.S. ТРУБЫ (ДЛЯ MAGIC РУКОЯТЬ) РАБОЧЕЕ ОБОРУДОВАНИЕ
FIT
1:1
100%

Артикул

Название

Примечание

Количество

1

07108-20204

HOSE

2

07235-10210

ELBOW

3

07002-01423

O-RING

4

202-966-5880

BLOCK

5

205-966-3242

BRACKET

6

01010-51025

BOLT

7

01643-31032

WASHER

8

01010-51225

BOLT

9

01643-31232

WASHER

10

205-62-74571

VALVE,SOLENOID

11

205-62-74580

O-RING

12

01252-40550

BOLT

13

195-06-41820

CLIP

14

01010-51225

BOLT

15

01643-31232

WASHER

16

07230-20210

UNION

|16

07230-10210

UNION

17

07002-01423

O-RING

18

07102-20205

HOSE

19

08034-00536

BAND

Выбрано товаров: 20