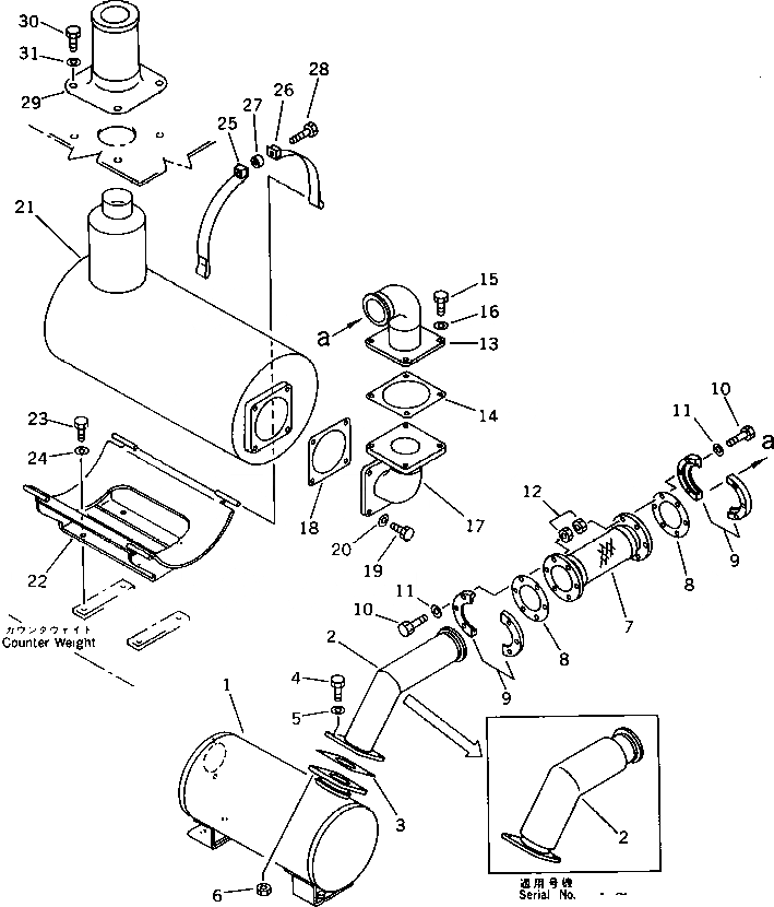
Запчасти Komatsu PC200-3 ГЛУШИТЕЛЬ И ВЫПУСКН. ТРУБЫ (PCSS¤ LCSS)(№77-) СПЕЦ. APPLICATION ЧАСТИ¤ МАРКИРОВКА¤ ИНСТРУМЕНТ И РЕМКОМПЛЕКТЫ

Схема запчастей Komatsu PC200-3 - ГЛУШИТЕЛЬ И ВЫПУСКН. ТРУБЫ (PCSS¤ LCSS)(№77-) СПЕЦ. APPLICATION ЧАСТИ¤ МАРКИРОВКА¤ ИНСТРУМЕНТ И РЕМКОМПЛЕКТЫ
FIT
1:1
100%

Артикул

Название

Примечание

Количество

1

205-01-85110

MUFFLER

2

205-01-85130

TUBE

3

205-01-84250

GASKET

4

01010-51035

BOLT

5

01643-31032

WASHER

6

01580-11008

NUT

7

205-01-83151

BELLOWS

8

205-01-85151

GASKET

9

205-01-85180

FLANGE

10

01010-51035

BOLT

11

01643-31032

WASHER

12

01580-11008

NUT

13

205-01-85120

TUBE

14

6710-12-5740

GASKET

15

01010-51035

BOLT

16

01643-31032

WASHER

17

205-01-85140

TUBE

18

6710-12-5740

GASKET

19

01010-51035

BOLT

20

01643-31032

WASHER

21

6136-11-5590

MUFFLER

22

205-01-83160

BRACKET

23

01010-51225

BOLT

24

01643-31232

WASHER

25

205-01-83190

BAND

26

205-01-83180

BAND

27

203-62-21720

SPACER

28

01016-51250

BOLT

29

205-01-84260

PIPE

30

01010-51230

BOLT

31

124-54-26540

WASHER

Выбрано товаров: 31