Запчасти Komatsu PC200-3 УДЛИНН. РЫЧАГ УПРАВЛ-Е И СТОЙКА¤ ЛЕВ. (/) ПОВОРОТН. И СИСТЕМА УПРАВЛЕНИЯ

Схема запчастей Komatsu PC200-3 - УДЛИНН. РЫЧАГ УПРАВЛ-Е И СТОЙКА¤ ЛЕВ. (/) ПОВОРОТН. И СИСТЕМА УПРАВЛЕНИЯ
FIT
1:1
100%

Артикул

Название

Примечание

Количество

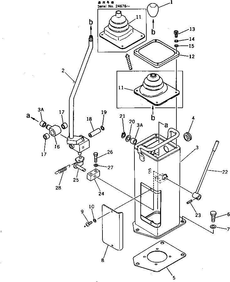
1

203-43-41910

KNOB

|1

20D-43-11370

KNOB

2

205-43-72634

LEVER

|3

205-43-00023

STAND ASS'Y,L.H.

|3

205-43-00022

STAND ASS'Y,L.H.

3

STAND,L.H.

|3

STAND,L.H.

3A

195-61-34120

BEARING

4

09415-02512

CAP

5

205-43-72842

COVER,L.H.

|5

205-43-72841

COVER,L.H.

6

01010-51235

BOLT

7

01643-31232

WASHER

8

205-43-72862

COVER

|8

205-43-72861

COVER

9

01220-40616

SCREW

10

01643-30623

WASHER

11

205-43-72622

BELLOWS

|11

205-43-72621

BELLOWS

12

205-43-72530

COVER

13

205-06-62170

BOLT

14

205-06-62180

WASHER,SPRING

15

205-06-62190

WASHER

16

205-43-72930

SHAFT

17

195-61-34120

BEARING

18

205-43-72940

PIN

19

04065-01610

RING,SNAP

20

205-970-1710

SHIM

21

04064-01610

RING,SNAP

22

205-43-72781

LEVER,L.H.

23

04025-00520

PIN,SPRING

24

205-43-62330

BLOCK

25

205-43-72591

LEVER

26

01010-50840

BOLT

27

01643-30823

WASHER

28

203-43-21370

SPRING

Выбрано товаров: 36