Запчасти Komatsu PC200-5 КРЕПЛЕНИЕ РАДИАТОРА КОМПОНЕНТЫ ДВИГАТЕЛЯ

Схема запчастей Komatsu PC200-5 - КРЕПЛЕНИЕ РАДИАТОРА КОМПОНЕНТЫ ДВИГАТЕЛЯ
4
17
3
6
2
2
3
17
1
21
7
5
6
22
1
18
20
19
13
12
11
18
13
12
13
11
14
8
16
13
23
15
14
16
10
15
9
FIT
1:1
100%

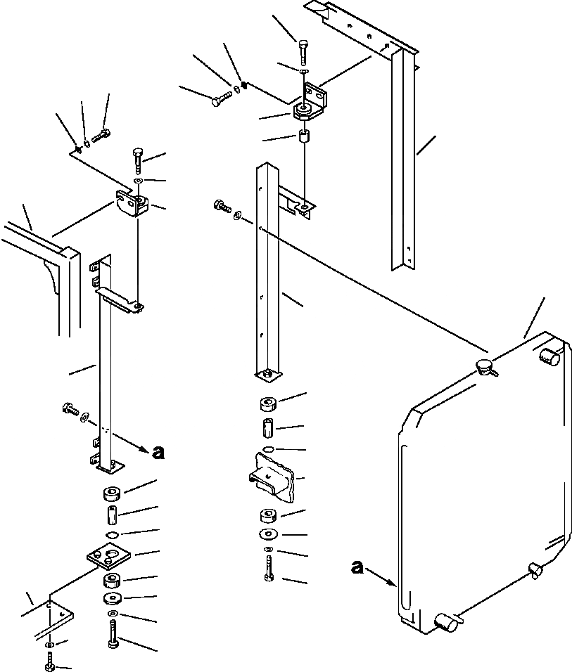
Артикул

Название

Примечание

Количество

1

205-03-71310

MOUNT, RADIATOR, WITH DAMPER

2

01010-51230

BOLT

3

01643-31232

WASHER

4

01010-51280

BOLT

5

01010-51265

BOLT

6

01643-31232

WASHER

7

144-947-3490

SPACER

8

20Y-03-11190

BRACKET

9

01010-51230

BOLT

10

01643-31232

WASHER

11

07000-03022

O-RING

12

20Y-03-11220

COLLAR

13

206-03-51230

CUSHION

14

20Y-03-11210

PLATE

15

01010-51265

BOLT

16

01643-31232

WASHER

17

24-54-26540

WASHER

Выбрано товаров: 17