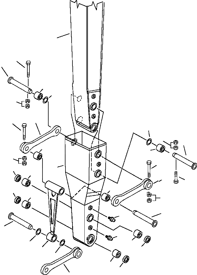
Запчасти Komatsu PC200-5 УДЛИНН. РУКОЯТЬ РАБОЧЕЕ ОБОРУДОВАНИЕ (ЭКСКАВАТ.)

Схема запчастей Komatsu PC200-5 - УДЛИНН. РУКОЯТЬ РАБОЧЕЕ ОБОРУДОВАНИЕ (ЭКСКАВАТ.)
19
8
11
10
18
9
13
8
18
9
7
15
10
9
8
1
5
2
13
8
15
6
3
12
4
16
4
2
17
14
5
17
3
6
20
9
FIT
1:1
100%

Артикул

Название

Примечание

Количество

|$0

205-945-7000

ARM ASSEMBLY, EXTENDED

1

NSS

ARM

2

21K-70-12170

BUSHING

3

205-70-72130

BUSHING

4

07020-00000

FITTING, GREASE

5

21K-70-12180

SEAL, DUST

6

205-70-62150

SEAL, DUST

7

205-70-67540

PIN

8

205-70-73190

BOLT

9

01580-12016

NUT

10

205-945-7150

BUSHING

11

205-945-7130

PIN

12

205-945-7170

PIN

13

205-70-73130

LINK

14

205-945-6220

LINK

15

205-945-7140

BUSHING

16

205-945-7120

PIN

17

205-945-7160

SPACER

18

205-945-7180

SPACER

Выбрано товаров: 19