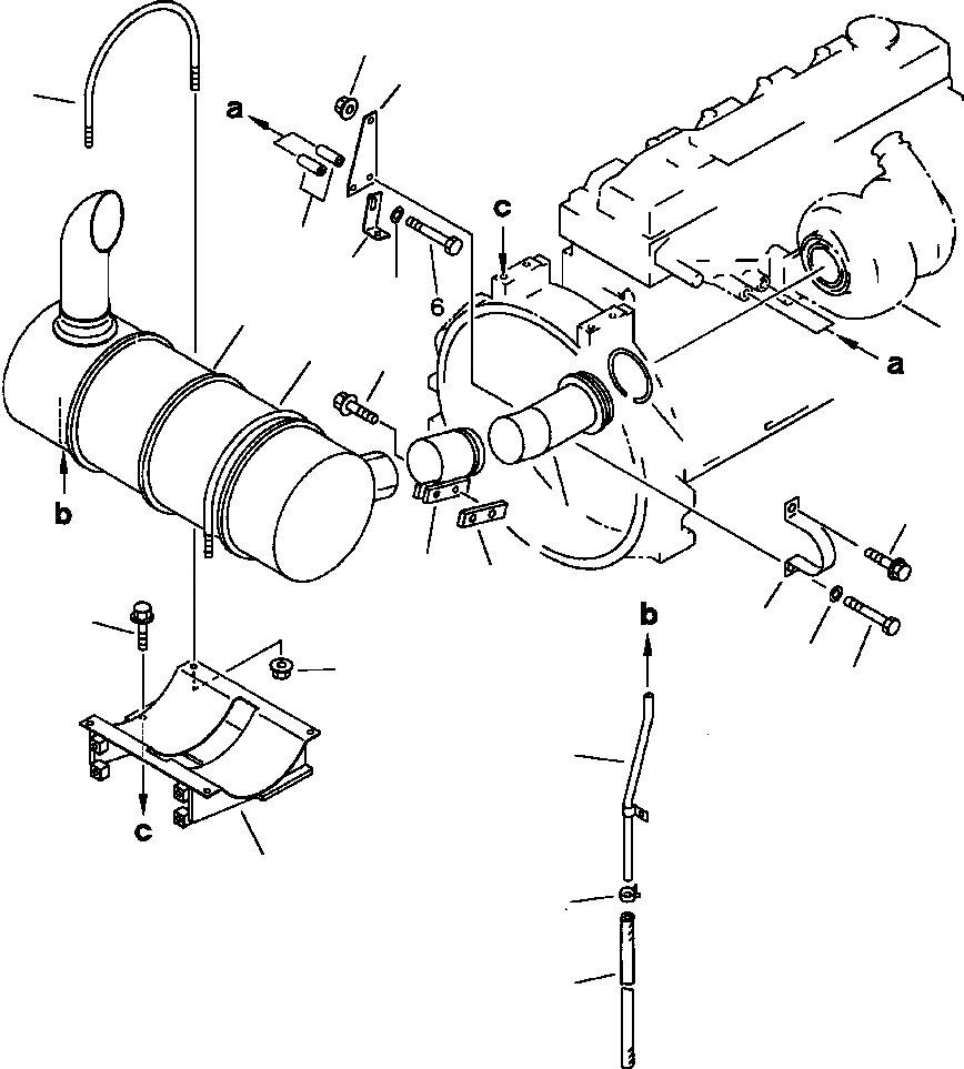
Запчасти Komatsu PC200-5 ГЛУШИТЕЛЬ И КРЕПЛЕНИЕ ГЛУШИТЕЛЯ КОМПОНЕНТЫ ДВИГАТЕЛЯ

Схема запчастей Komatsu PC200-5 - ГЛУШИТЕЛЬ И КРЕПЛЕНИЕ ГЛУШИТЕЛЯ КОМПОНЕНТЫ ДВИГАТЕЛЯ
9
3
14
5
10
7
13
22
14
17
2
8
1
16
18
12
4
7
15
6
19
11
21
20
FIT
1:1
100%

Артикул

Название

Примечание

Количество

1

6207-11-5631

PIPE, EXHAUST

1

6207-11-5630

PIPE, EXHAUST

2

6137-11-5290

RING, SEAL

2

6136-12-5280

RING, SEAL

3

6207-11-5940

PLATE

4

6207-11-5950

CLAMP

5

6150-81-6920

SPACER

6

01010-31060

BOLT

7

01643-31032

WASHER

8

01435-01020

BOLT

9

01584-01008

NUT

10

6207-11-4950

BRACKET

10

6136-71-5730

BRACKET

11

6207-11-5560

BRACKET, MUFFLER

12

01435-21025

BOLT

13

6209-11-5211

MUFFLER

14

6206-11-5980

U-BOLT

15

01594-00807

NUT

15

01584-00806

NUT

16

6207-11-5921

CLAMP

17

01435-01235

BOLT

18

6207-11-5850

PLATE

18

01584-01210

NUT

19

6207-11-5470

TUBE

20

07260-20950

HOSE

21

07285-00155

CLIP

|$33

6207-11-5631

PIPE, EXHAUST

|$34

6137-11-5290

RING, SEAL

Выбрано товаров: 28