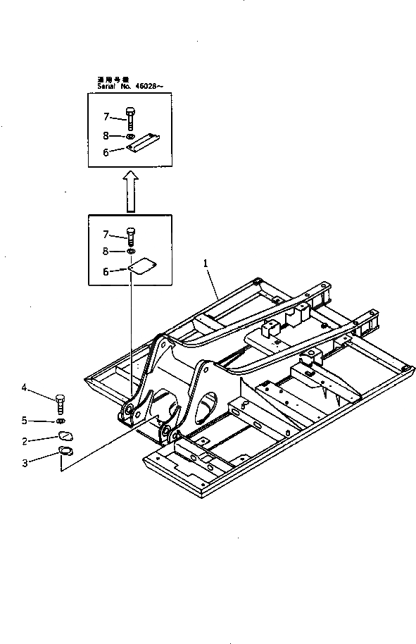
Запчасти Komatsu PC200-5 ОСНОВНАЯ РАМА (№-78¤79-88) СИСТЕМА УПРАВЛЕНИЯ И ОСНОВНАЯ РАМА

Схема запчастей Komatsu PC200-5 - ОСНОВНАЯ РАМА (№-78¤79-88) СИСТЕМА УПРАВЛЕНИЯ И ОСНОВНАЯ РАМА
FIT
1:1
100%

Артикул

Название

Примечание

Количество

1

20Y-46-11302

FRAME,REVOLVING

2

205-30-71181

COVER

3

205-30-71191

GASKET

4

01010-51230

BOLT

5

01643-31232

WASHER

6

20Y-46-11180

PLATE

6

20Y-46-11170

PLATE

7

01010-51230

BOLT

7

01010-51230

BOLT

8

01643-31232

WASHER

8

01643-31232

WASHER

Выбрано товаров: 11