Качественные детали и логистика
Оригинальные и аналоговые запчасти с доставкой по России, Казахстану и Беларуси
©2022 PartSell ООО "Система" ИНН 2463123282 ОГРН 1212400004838
Центральный офис: г. Красноярск, Академика Киренского, д.87, пом.4
Телефон: 8 (800) 777-65-74 Email: zakaz@partsell.ru
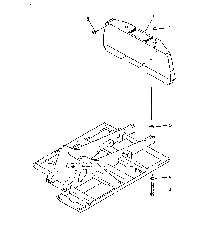
ПРОТИВОВЕС (С ПОВОРОТН. МИГАЮЩ. СИГНАЛ) (№79-79¤89-)
№
Артикул
Название
Примечание
Количество
1
20Y-46-11340
WEIGHT,COUNTER
2
20Y-46-11270
CAP
3
207-46-12141
BOLT
4
01643-32780
WASHER
5
20Y-46-11410
PLATE, 1.6MM
6
01370-00508
SCREW
Выбрано товаров: 0