Запчасти Komatsu PC200-5 ОСНОВН. КОНСТРУКЦИЯ (ДЛЯ WRIST УПРАВЛ-Е) (№-78¤79-88) ЧАСТИ КОРПУСА

Схема запчастей Komatsu PC200-5 - ОСНОВН. КОНСТРУКЦИЯ (ДЛЯ WRIST УПРАВЛ-Е) (№-78¤79-88) ЧАСТИ КОРПУСА
FIT
1:1
100%

Артикул

Название

Примечание

Количество

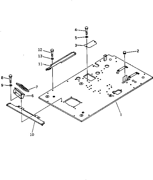
G-1

20Y-54-X1201

FLOOR GROUP

1

20Y-54-16521

FRAME

2

20Y-977-1120

CAP

3

20Y-54-16561

PLATE

4

01010-51025

BOLT

5

01643-31032

WASHER

6

20Y-43-16421

REST,FOOT

7

20Y-43-16430

PAD

8

01010-51020

BOLT

9

01643-31032

WASHER

10

20Y-06-15351

COVER

11

20Y-06-15510

COVER

12

01010-50816

BOLT

13

01643-30823

WASHER

Выбрано товаров: 14