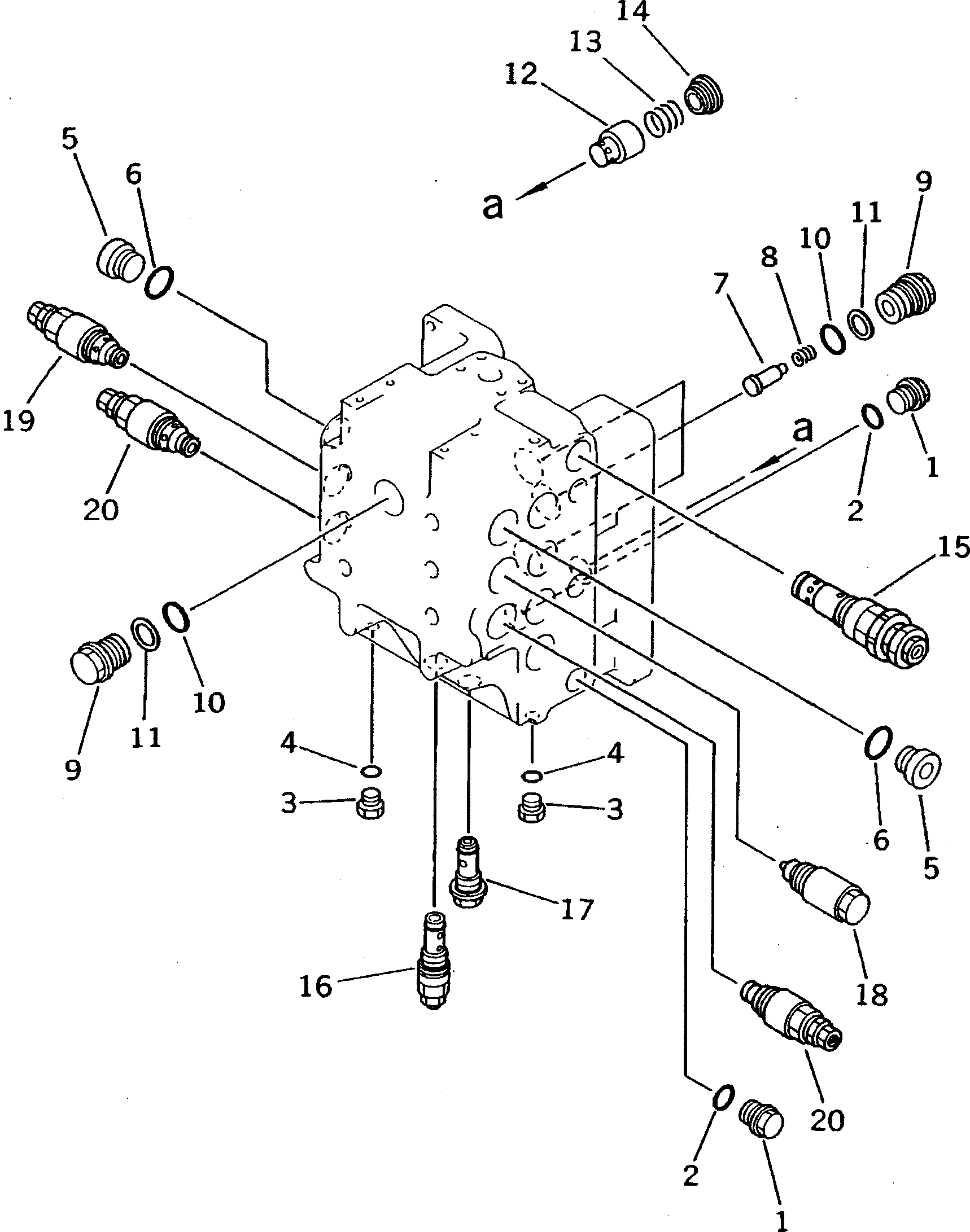
Запчасти Komatsu PC200-5 ГИДРАВЛ УПРАВЛЯЮЩ. КЛАПАН (/7) УПРАВЛ-Е РАБОЧИМ ОБОРУДОВАНИЕМ

Схема запчастей Komatsu PC200-5 - ГИДРАВЛ УПРАВЛЯЮЩ. КЛАПАН (/7) УПРАВЛ-Е РАБОЧИМ ОБОРУДОВАНИЕМ
FIT
1:1
100%

Артикул

Название

Примечание

Количество

|$0

709-79-22303

CONTROL VALVE ASS'Y

|$1

709-79-22302

CONTROL VALVE ASS'Y

|$2

709-79-22301

CONTROL VALVE ASS'Y

|$3

709-79-22203

CONTROL VALVE ASS'Y

|$4

709-79-22202

CONTROL VALVE ASS'Y

|$6

709-74-92602

VALVE ASS'Y

|$7

709-74-92601

VALVE ASS'Y

|$8

709-74-92600

VALVE ASS'Y

|$9

709-74-92503

VALVE ASS'Y

|$10

709-74-92502

VALVE ASS'Y

1

709-74-91860

PLUG

2

07002-12434

O-RING

3

07040-11612

PLUG

4

07002-01623

O-RING

5

709-74-91520

PLUG

5

07040-13016

PLUG

6

709-25-11390

O-RING

6

07002-03034

O-RING

7

709-74-92810

VALVE

8

709-75-92220

SPRING

9

709-74-92821

PLUG

10

700-93-11320

O-RING

11

700-93-11330

RING

12

709-74-92281

VALVE

13

709-74-92290

SPRING

14

709-74-92310

SEAT

15

709-70-51401

VALVE ASS'Y,RELIEF

16

709-70-55200

VALVE ASS'Y,RELIEF

17

709-90-91300

ORIFICE ASS'Y

18

709-20-81201

VALVE ASS'Y,SUCTION

18

700-81-82001

VALVE ASS'Y,SUCTION

19

709-70-74203

VALVE ASS'Y,SUCTION AND SAFETY

19

709-70-71203

VALVE ASS'Y,SUCTION AND SAFETY

20

709-70-74103

VALVE ASS'Y,SUCTION AND SAFETY

20

709-70-71102

VALVE ASS'Y,SUCTION AND SAFETY

Выбрано товаров: 35