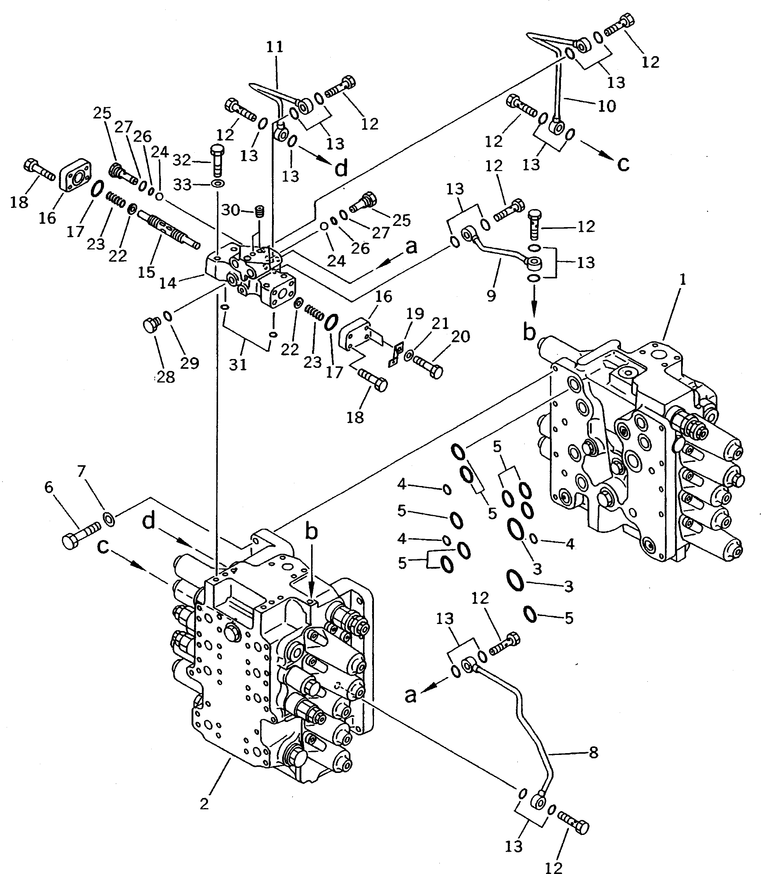
Запчасти Komatsu PC200-5 ГИДРАВЛ УПРАВЛЯЮЩ. КЛАПАН (/7) (ДЛЯ КЛАПАНS) УПРАВЛ-Е РАБОЧИМ ОБОРУДОВАНИЕМ

Схема запчастей Komatsu PC200-5 - ГИДРАВЛ УПРАВЛЯЮЩ. КЛАПАН (/7) (ДЛЯ КЛАПАНS) УПРАВЛ-Е РАБОЧИМ ОБОРУДОВАНИЕМ
FIT
1:1
100%

Артикул

Название

Примечание

Количество

|$0

709-79-24102

CONTROL VALVE ASS'Y

1

709-75-92600

VALVE ASS'Y

2

709-75-94102

VALVE ASS'Y

3

07000-13038

O-RING

4

07000-02010

O-RING

5

07000-13028

O-RING

6

01010-51040

BOLT

7

01643-31032

WASHER

8

709-79-11132

TUBE

9

709-79-11112

TUBE

10

709-79-11143

TUBE

11

709-79-11122

TUBE

12

709-79-11190

BOLT

13

07000-02011

O-RING

|$15

709-70-91800

SHUTTLE VALVE ASS'Y

14

BODY

15

SPOOL

16

709-70-91150

PLATE

17

07000-13025

O-RING

18

01010-50825

BOLT

19

08053-01512

CLIP

20

01010-50830

BOLT

21

01643-30823

WASHER

22

706-73-77140

PLATE

23

709-70-91130

SPRING

24

04260-00952

BALL

25

709-70-91220

PLUG

26

07000-01007

O-RING

27

07002-01423

O-RING

28

07040-11409

PLUG

29

07002-01423

O-RING

30

07043-70108

PLUG

31

07000-11009

O-RING

32

01010-50855

BOLT

33

01643-30823

WASHER

Выбрано товаров: 35