Запчасти Komatsu PC200-5 PPC V. ТРУБЫ (БЛОК - SHUTTLE V.) (WRIST CON.) (С ФИЛЬТР) (№-78¤79-88) УПРАВЛ-Е РАБОЧИМ ОБОРУДОВАНИЕМ

Схема запчастей Komatsu PC200-5 - PPC V. ТРУБЫ (БЛОК - SHUTTLE V.) (WRIST CON.) (С ФИЛЬТР) (№-78¤79-88) УПРАВЛ-Е РАБОЧИМ ОБОРУДОВАНИЕМ
FIT
1:1
100%

Артикул

Название

Примечание

Количество

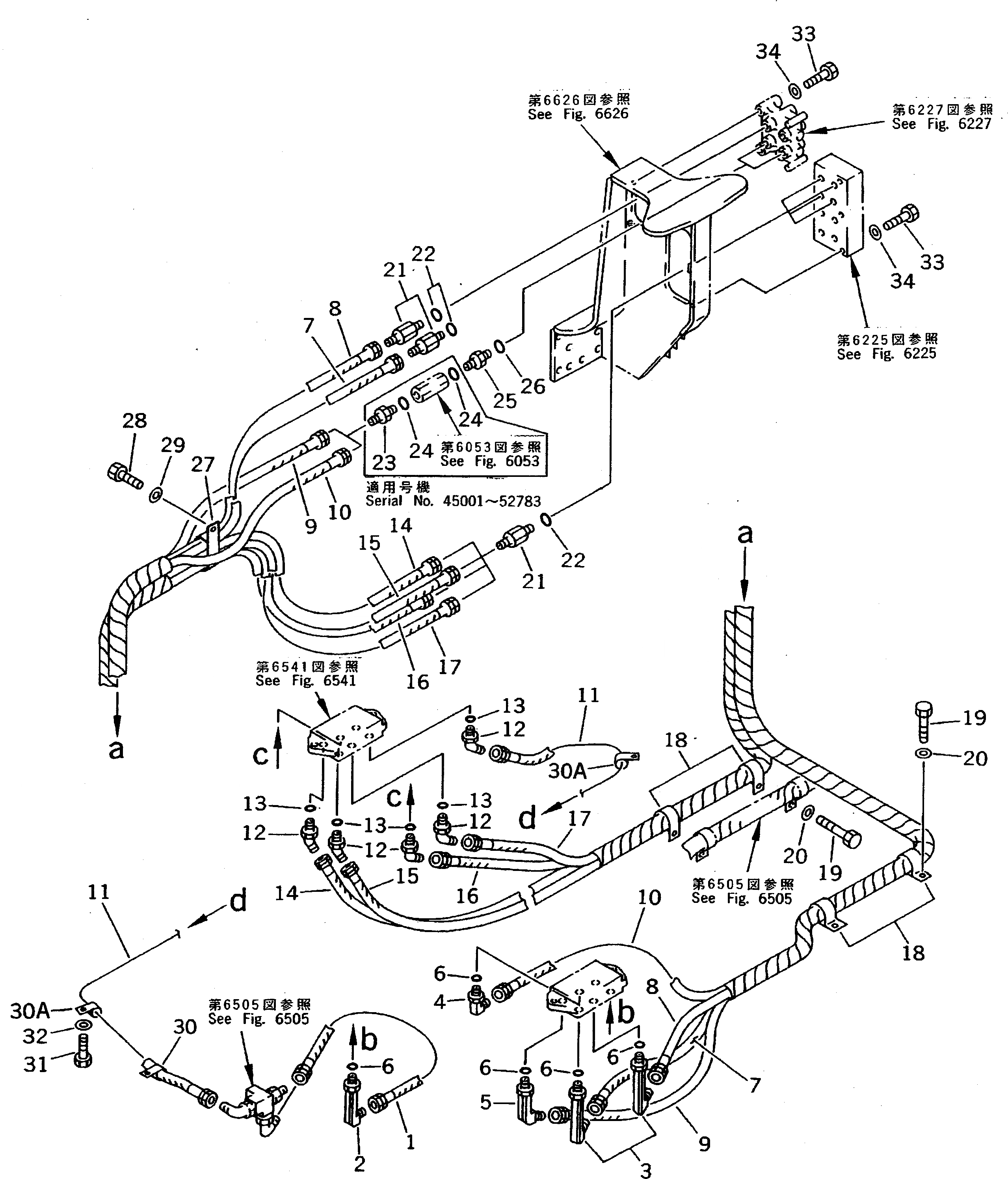
G-1

20Y-62-X1401

PIPING GROUP

1

07102-20306

HOSE

2

20R-62-22260

ELBOW

3

20Y-62-16330

ELBOW

4

20Y-62-16340

ELBOW

5

20Y-62-16320

ELBOW

6

07002-02034

O-RING

7

207-62-56140

HOSE,(YELLOW)

7

20Y-62-16250

HOSE, 2140MM,(YELLOW)

8

207-62-56140

HOSE,(WHITE)

8

07102-20321

HOSE,(WHITE)

9

07102-20321

HOSE,(BROWN)

10

20Y-62-16250

HOSE, 2140MM,(BLACK)

11

07102-20311

HOSE

11

07102-20309

HOSE

12

07236-10315

ELBOW

13

07002-02034

O-RING

14

20Y-62-16260

HOSE,(WHITE)

15

07102-20318

HOSE,(YELLOW)

16

07102-20318

HOSE,(BLACK)

17

20Y-62-16260

HOSE,(BROWN)

18

20Y-62-15951

CLIP

19

01010-51225

BOLT

20

01643-31232

WASHER

21

207-62-33950

NIPPLE

22

07002-01423

O-RING

23

07230-20315

UNION

24

07002-02034

O-RING

25

207-62-33950

NIPPLE

25

20Y-62-17450

NIPPLE

26

07002-01423

O-RING

27

20Y-62-15971

CLIP

28

01010-51225

BOLT

29

01643-31232

WASHER

30

08036-01814

CLIP

30

08035-02512

CLIP

30

08036-01814

CLIP

30A

08036-01814

CLIP

30A

08036-21414

CLIP

31

01010-51225

BOLT

32

01643-31232

WASHER

33

01010-51075

BOLT

34

01643-31032

WASHER

Выбрано товаров: 43