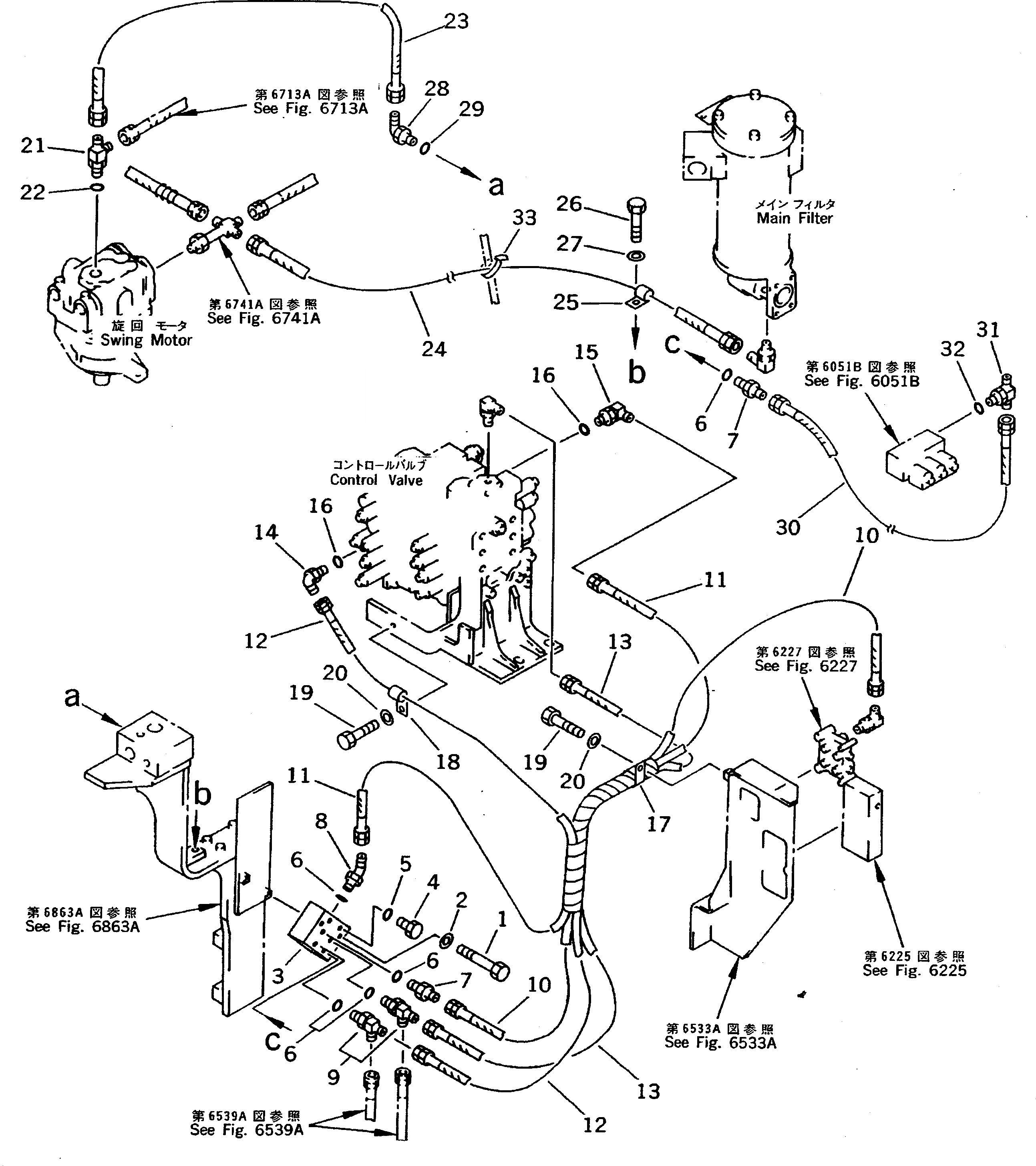
Запчасти Komatsu PC200-5 ГЛАВН. ТРУБЫ (РАСПРЕДЕЛИТ. КЛАПАН - УПРАВЛЯЮЩ. КЛАПАН) (ДЛЯ НАСОС) (№79-79¤89-) УПРАВЛ-Е РАБОЧИМ ОБОРУДОВАНИЕМ

Схема запчастей Komatsu PC200-5 - ГЛАВН. ТРУБЫ (РАСПРЕДЕЛИТ. КЛАПАН - УПРАВЛЯЮЩ. КЛАПАН) (ДЛЯ НАСОС) (№79-79¤89-) УПРАВЛ-Е РАБОЧИМ ОБОРУДОВАНИЕМ
FIT
1:1
100%

Артикул

Название

Примечание

Количество

1

01010-51070

BOLT

2

01643-31032

WASHER

3

702-19-12000

CHECK VALVE ASS'Y

4

07040-11409

PLUG

5

07002-01423

O-RING

6

07002-01423

O-RING

7

205-62-55270

NIPPLE

8

22X-61-18550

ELBOW

9

21T-62-29960

TEE

10

20Y-62-17220

HOSE,(RED)

11

20Y-62-17260

HOSE,(BLUE)

12

20Y-62-17220

HOSE,(YELLOW)

13

20Y-62-17170

HOSE

14

22X-61-18550

ELBOW

15

207-62-33920

ELBOW

16

07002-01423

O-RING

17

113-899-7950

CLIP

18

08036-21414

CLIP

19

01010-51225

BOLT

20

01643-31232

WASHER

21

21T-62-74610

ELBOW

22

07002-02434

O-RING

23

20Y-970-2210

HOSE

24

20Y-970-2230

HOSE

25

08035-03014

CLIP

26

01010-51225

BOLT

27

01643-31232

WASHER

28

07236-10628

ELBOW

29

07002-02434

O-RING

30

20Y-62-17620

HOSE

31

20Y-62-11780

TEE

32

07002-01423

O-RING

33

08034-00519

BAND

Выбрано товаров: 33