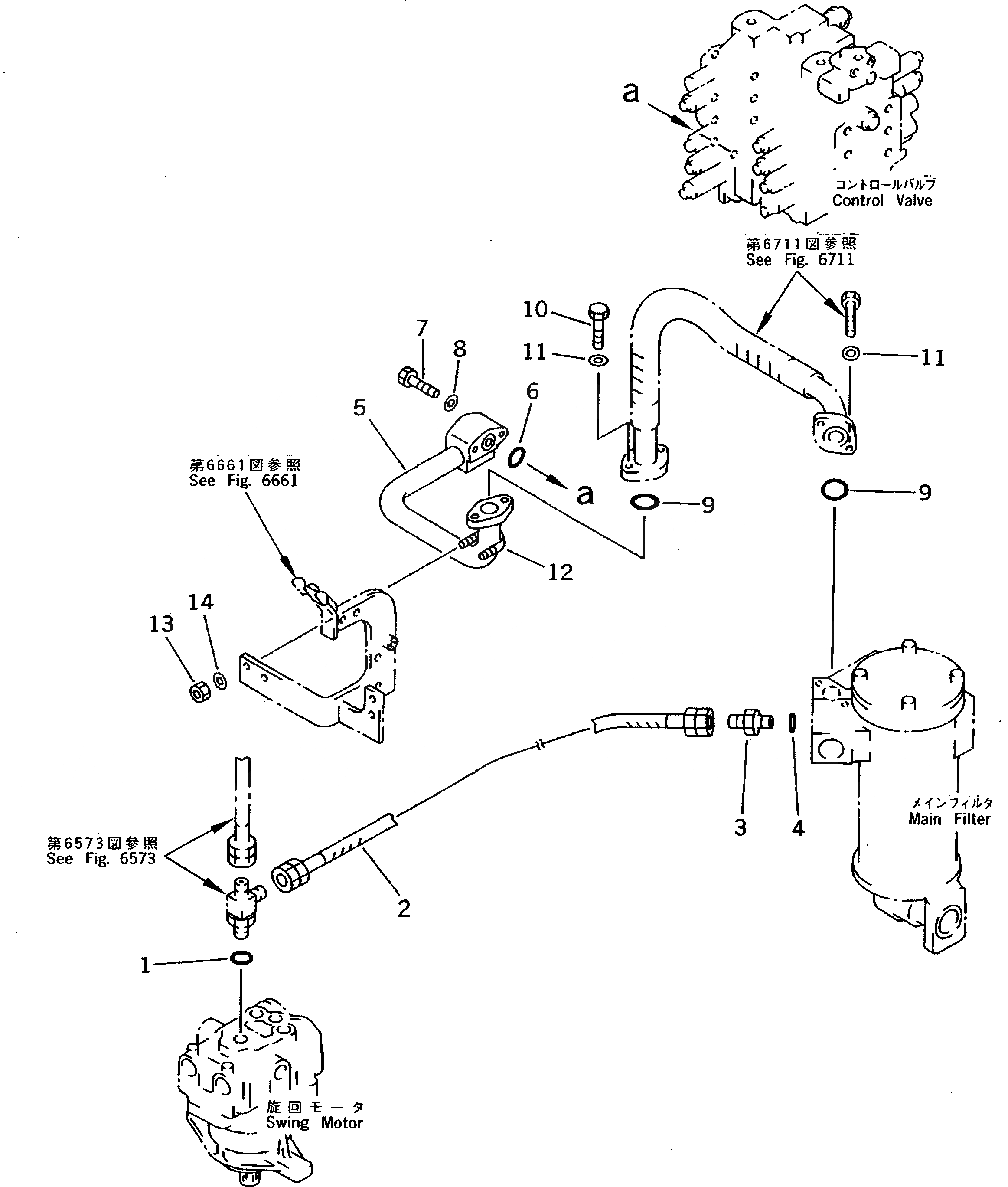
Запчасти Komatsu PC200-5 ВОЗВРАТ. ТРУБЫ (С ДОПОЛН. ГИДРОЛИНИЕЙ) (ДЛЯ КЛАПАНS) (№-78¤79-88) УПРАВЛ-Е РАБОЧИМ ОБОРУДОВАНИЕМ

Схема запчастей Komatsu PC200-5 - ВОЗВРАТ. ТРУБЫ (С ДОПОЛН. ГИДРОЛИНИЕЙ) (ДЛЯ КЛАПАНS) (№-78¤79-88) УПРАВЛ-Е РАБОЧИМ ОБОРУДОВАНИЕМ
FIT
1:1
100%

Артикул

Название

Примечание

Количество

1

07002-02434

O-RING

2

07102-20606

HOSE

3

07230-20628

UNION

4

07002-02434

O-RING

5

20Y-62-15510

TUBE

6

07000-03035

O-RING

7

01010-51085

BOLT

8

01643-31032

WASHER

9

07000-03048

O-RING

10

01010-51240

BOLT

11

01643-31232

WASHER

12

07283-24346

CLIP

13

01599-01011

NUT

14

01643-31032

WASHER

Выбрано товаров: 14