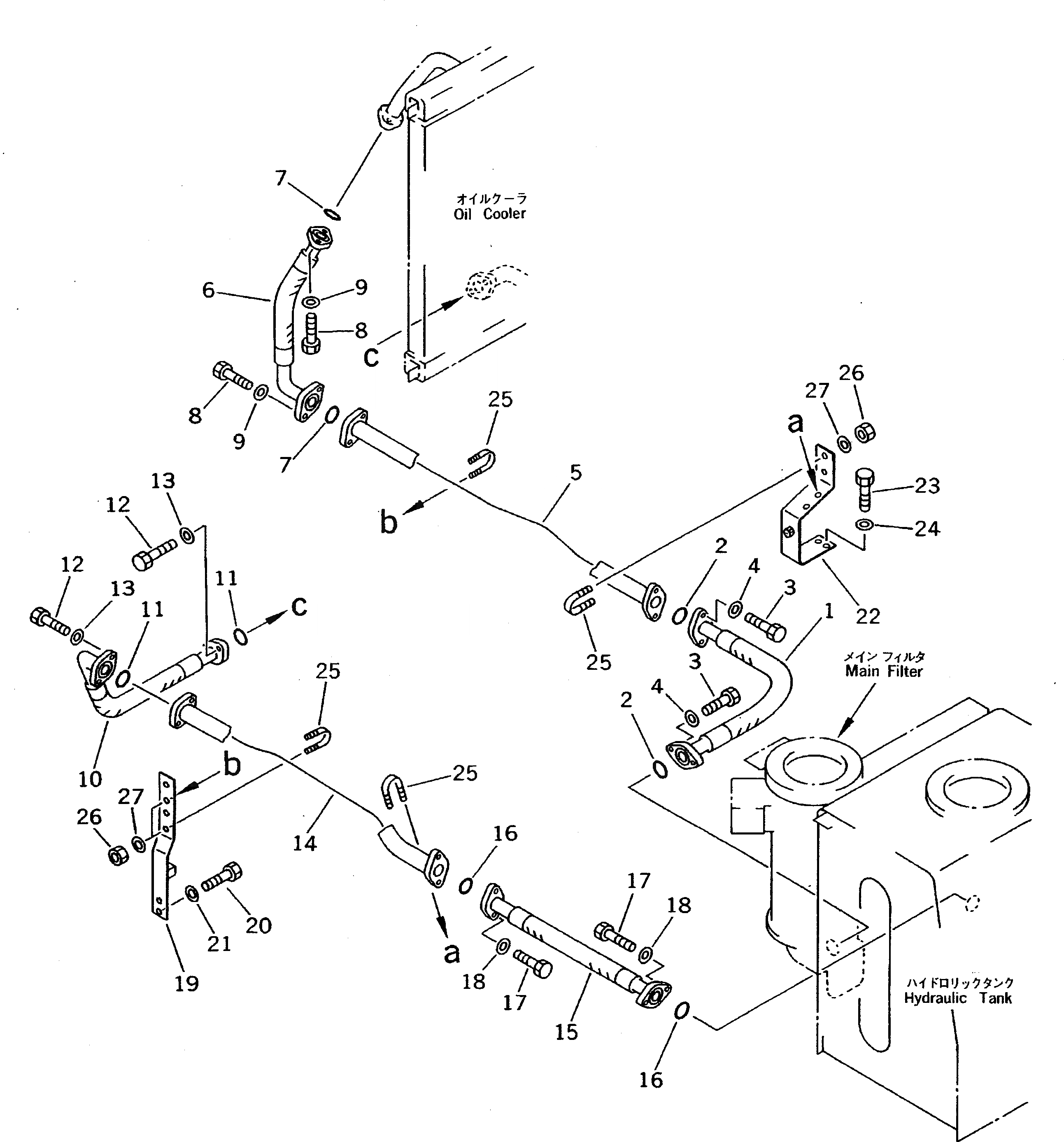
Запчасти Komatsu PC200-5 ЛИНИИ МАСЛООХЛАДИТЕЛЯ (№79-79¤89-) УПРАВЛ-Е РАБОЧИМ ОБОРУДОВАНИЕМ

Схема запчастей Komatsu PC200-5 - ЛИНИИ МАСЛООХЛАДИТЕЛЯ (№79-79¤89-) УПРАВЛ-Е РАБОЧИМ ОБОРУДОВАНИЕМ
FIT
1:1
100%

Артикул

Название

Примечание

Количество

1

20Y-62-11990

HOSE

2

07000-13048

O-RING

3

01010-51240

BOLT

4

01643-31232

WASHER

5

20Y-62-11627

TUBE

6

206-62-51630

HOSE

7

07000-13048

O-RING

8

01010-51240

BOLT

9

01643-31232

WASHER

10

20Y-62-11880

HOSE

11

07000-13048

O-RING

12

01010-51240

BOLT

13

01643-31232

WASHER

14

20Y-62-11645

TUBE

15

20Y-62-11691

HOSE

16

07000-13048

O-RING

17

01010-51240

BOLT

18

01643-31232

WASHER

19

20Y-62-11672

BRACKET

20

01010-51235

BOLT

21

01643-31232

WASHER

22

20Y-62-11721

BRACKET

23

01010-51235

BOLT

24

01643-31232

WASHER

25

07283-24346

CLIP

26

01599-01011

NUT

27

01643-31032

WASHER

Выбрано товаров: 27