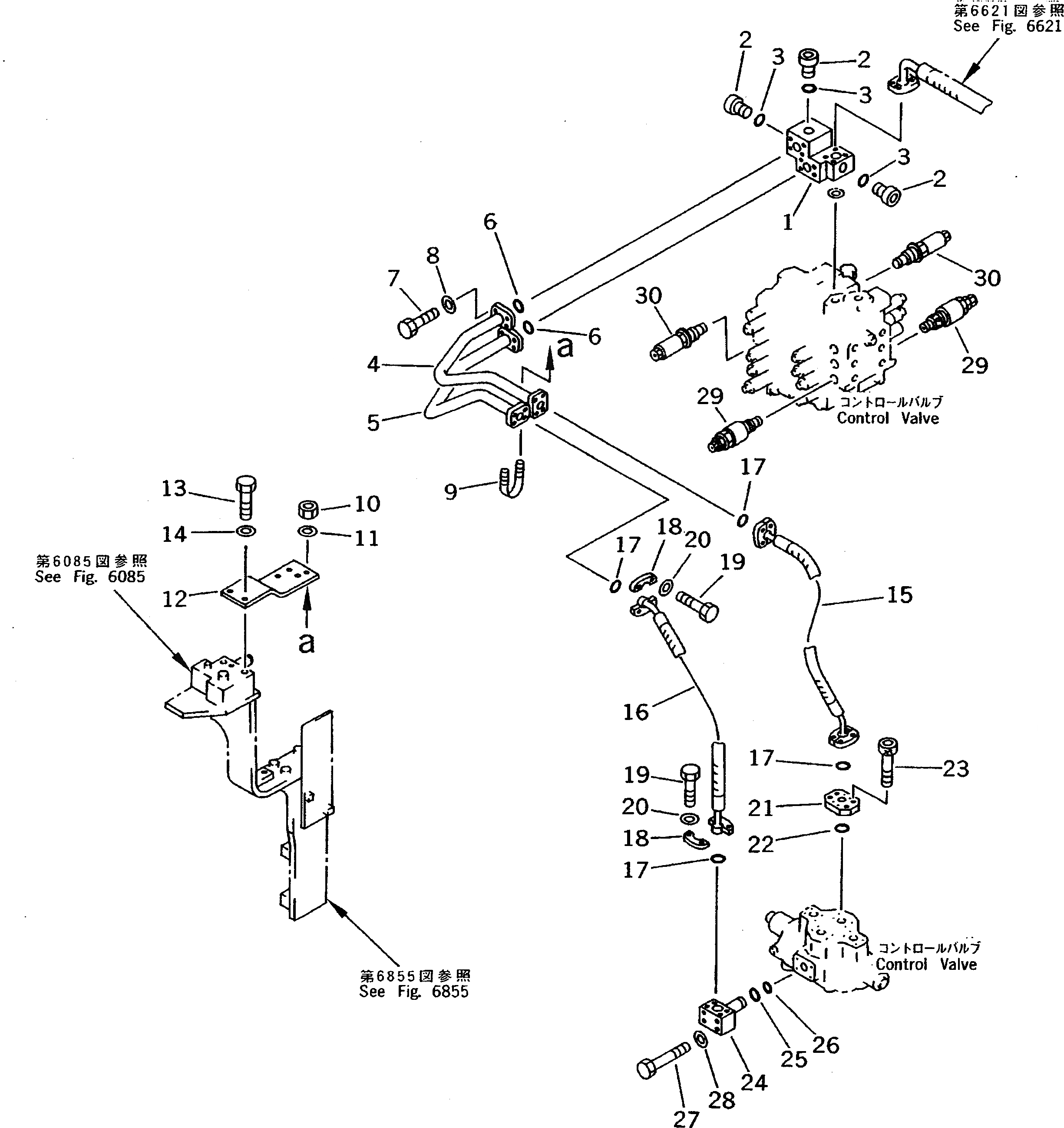
Запчасти Komatsu PC200-5 ДОПОЛН. ТРУБЫ (ШАССИ) (УПРАВЛЯЮЩ. КЛАПАН - ДОПОЛН. КЛАПАН) (ДЛЯ КЛАПАНS) (№-78¤79-88) УПРАВЛ-Е РАБОЧИМ ОБОРУДОВАНИЕМ

Схема запчастей Komatsu PC200-5 - ДОПОЛН. ТРУБЫ (ШАССИ) (УПРАВЛЯЮЩ. КЛАПАН - ДОПОЛН. КЛАПАН) (ДЛЯ КЛАПАНS) (№-78¤79-88) УПРАВЛ-Е РАБОЧИМ ОБОРУДОВАНИЕМ
FIT
1:1
100%

Артикул

Название

Примечание

Количество

G-1

20Y-970-X441

PIPING GROUP

1

20Y-970-1450

BLOCK

2

20Y-970-1460

PLUG

3

07002-12434

O-RING

4

20Y-970-1581

TUBE

5

20Y-970-1591

TUBE

6

07000-13035

O-RING

7

07372-21040

BOLT

8

01643-51032

WASHER

9

07283-33442

CLIP

10

01599-01011

NUT

11

01643-31032

WASHER

12

20Y-970-1571

BRACKET

13

01010-51235

BOLT

14

01643-31232

WASHER

15

20Y-970-2330

HOSE

16

20Y-970-2350

HOSE

17

07000-13032

O-RING

18

07371-31049

FLANGE

19

07372-21035

BOLT

20

01643-51032

WASHER

21

20Y-970-2130

FLANGE

22

07000-13035

O-RING

23

01252-41230

BOLT

24

20Y-970-1632

ELBOW

25

07000-03035

O-RING

26

07000-13032

O-RING

27

01010-51265

BOLT

28

01643-31232

WASHER

29

709-70-73100

VALVE ASS'Y

29

709-70-71900

VALVE ASS'Y

30

709-70-74600

VALVE ASS'Y

30

709-70-71600

VALVE ASS'Y

30

709-70-71500

VALVE ASS'Y

Выбрано товаров: 34