Запчасти Komatsu PC200-5 TRAPEZOIDAL КОВШ РАБОЧЕЕ ОБОРУДОВАНИЕ

Схема запчастей Komatsu PC200-5 - TRAPEZOIDAL КОВШ РАБОЧЕЕ ОБОРУДОВАНИЕ
FIT
1:1
100%

Артикул

Название

Примечание

Количество

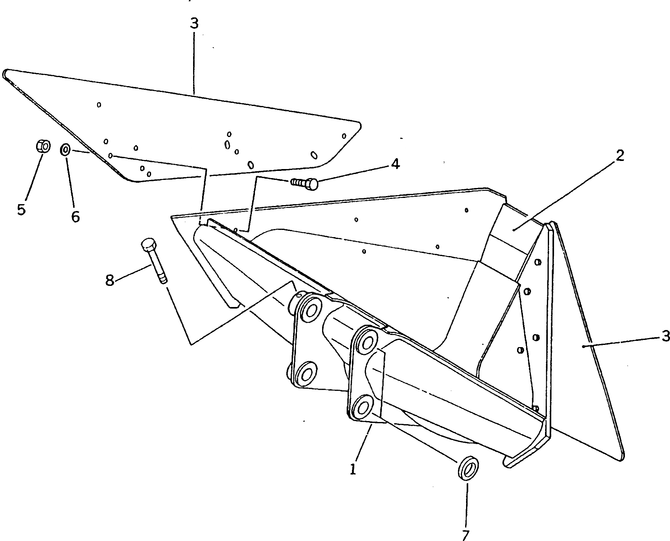
G-1

20Y-929-X101

BUCKET GROUP

1

205-929-6210

BUCKET

2

205-929-6120

PLATE (WELDED)

3

205-929-6130

PLATE

4

01010-32470

BOLT

5

01580-02419

NUT

6

01643-32460

WASHER

7

205-70-74410

COLLAR

8

205-70-73190

BOLT

Выбрано товаров: 0