Запчасти Komatsu PC200-5 РАДИАТОР (№79-79¤89-) КОМПОНЕНТЫ ДВИГАТЕЛЯ И ЭЛЕКТРИКА

Схема запчастей Komatsu PC200-5 - РАДИАТОР (№79-79¤89-) КОМПОНЕНТЫ ДВИГАТЕЛЯ И ЭЛЕКТРИКА
FIT
1:1
100%

Артикул

Название

Примечание

Количество

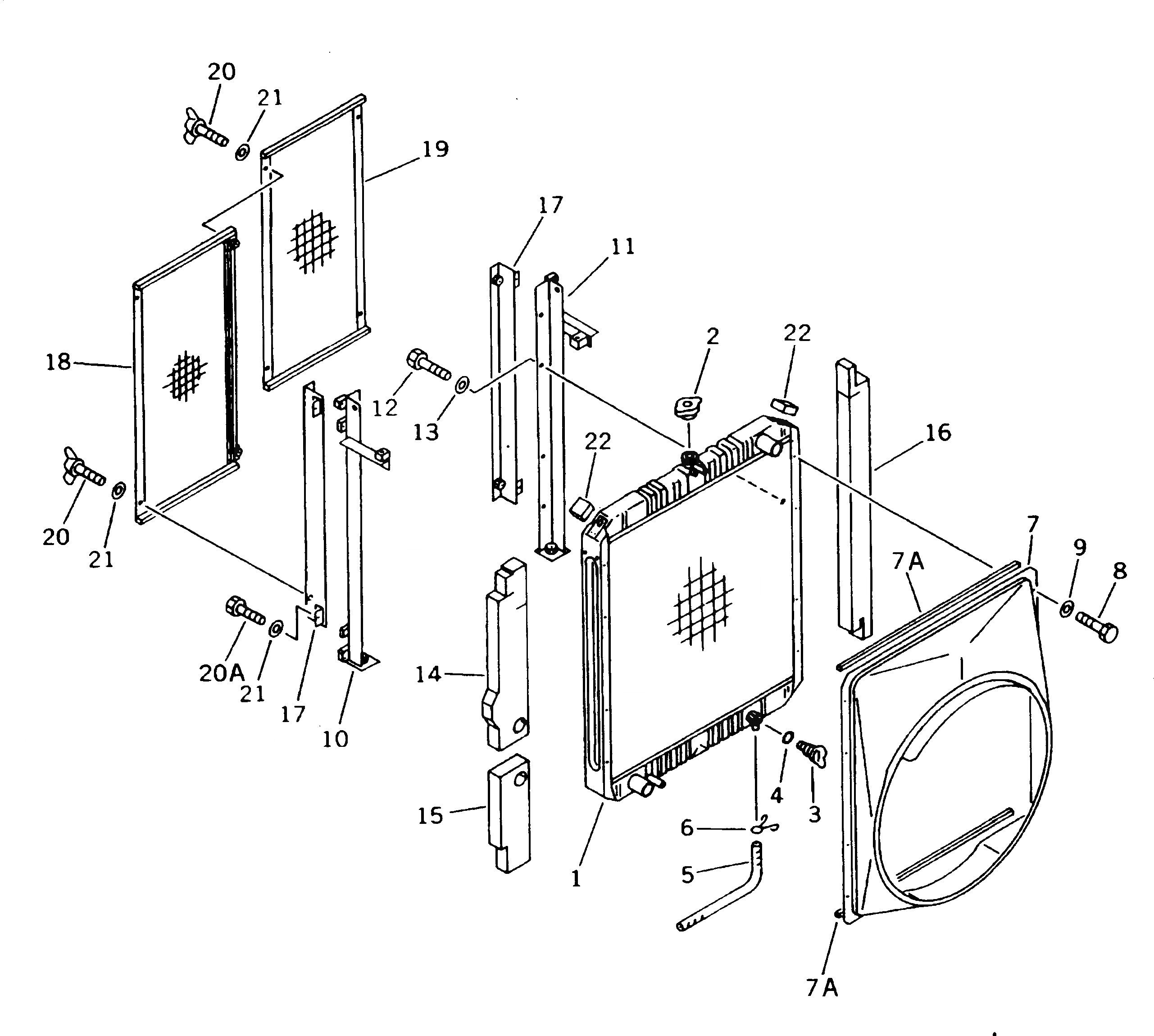
1

20Y-03-14120

CORE ASS'Y

2

205-03-71280

CAP ASS'Y

3

205-03-62660

PLUG

4

07000-01007

O-RING

5

203-03-41411

HOSE

6

20Y-03-11330

CLIP

7

206-03-51132

SHROUD

7A

20Y-03-14110

SEAL

8

01010-50816

BOLT

9

01643-30823

WASHER

10

20Y-03-11353

FRAME

11

20Y-03-11343

FRAME

12

01010-50816

BOLT

13

01643-30823

WASHER

14

20Y-03-11381

SEAL

15

20Y-03-11293

SEAL

16

206-03-51323

SEAL

17

20Y-03-11582

BRACKET

18

20Y-03-11561

NET

19

20Y-03-11543

NET

20

01434-10820

BOLT, WING

20A

01010-50816

BOLT

21

01643-30823

WASHER

22

20Y-03-11641

SEAL

Выбрано товаров: 24