Запчасти Komatsu PC200-5 МЕХАНИЗМ УПРАВЛ-Я ПОДАЧЕЙ ТОПЛИВА(№-) СИСТЕМА УПРАВЛЕНИЯ И ОСНОВНАЯ РАМА

Схема запчастей Komatsu PC200-5 - МЕХАНИЗМ УПРАВЛ-Я ПОДАЧЕЙ ТОПЛИВА(№-) СИСТЕМА УПРАВЛЕНИЯ И ОСНОВНАЯ РАМА
FIT
1:1
100%

Артикул

Название

Примечание

Количество

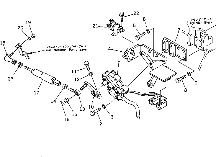
1

7824-30-1600

MOTOR ASS'Y

2

01010-51040

BOLT

3

01643-31032

WASHER

4

20Y-43-12122

BRACKET

5

01010-51025

BOLT

6

01643-31032

WASHER

7

20Y-43-12132

BRACKET

8

01010-51025

BOLT

9

01643-31032

WASHER

10

20Y-43-12143

LEVER

11

01010-51035

BOLT

12

01602-21030

WASHER,SPRING

13

04252-21061

END

14

01582-11008

NUT

15

01593-31008

NUT

16

04050-12018

PIN,COTTER

17

20Y-43-12116

SPRING ASS'Y

17

20Y-43-12115

SPRING ASS'Y

18

20Y-43-12180

JOINT

19

01580-10605

NUT

20

01602-20619

WASHER,SPRING

21

600-815-2170

SWITCH

22

01435-20612

BOLT

23

01582-11008

NUT

Выбрано товаров: 24