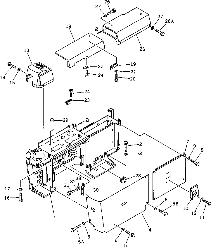
Запчасти Komatsu PC200-5 ПАНЕЛЬ СТОЙКА (ДЛЯ УДЛИНН. РЫЧАГ УПРАВЛ-Е) (№-78¤79-88) СИСТЕМА УПРАВЛЕНИЯ И ОСНОВНАЯ РАМА

Схема запчастей Komatsu PC200-5 - ПАНЕЛЬ СТОЙКА (ДЛЯ УДЛИНН. РЫЧАГ УПРАВЛ-Е) (№-78¤79-88) СИСТЕМА УПРАВЛЕНИЯ И ОСНОВНАЯ РАМА
FIT
1:1
100%

Артикул

Название

Примечание

Количество

G-1

20Y-43-X1201

CONTROL GROUP

1

20Y-43-15241

BRACKET

2

01010-51225

BOLT

3

20Y-54-12670

WASHER

|3

01643-31232

WASHER

4

20Y-43-15292

COVER

5

01010-50616

BOLT

|5

01010-50612

BOLT

5A

20Y-43-15460

BOLT

|5A

01016-50625

BOLT

|5A

01010-50625

BOLT

|5A

01010-50612

BOLT

5B

01010-50620

BOLT

|5B

01010-50612

BOLT

6

01643-30623

WASHER

7

20Y-43-15272

COVER

8

01010-50616

BOLT

|8

01010-50620

BOLT

|8

01010-50612

BOLT

9

01643-30623

WASHER

10

20Y-43-16250

COVER

11

01220-40408

SCREW

12

01641-20405

WASHER

13

203-54-56521

COVER

14

01220-70616

SCREW

15

01642-40608

WASHER

16

01010-50612

BOLT

17

01641-20608

WASHER

18

203-54-56531

COVER

19

20Y-06-16350

HINGE

20

01220-70510

SCREW

21

01642-40508

WASHER

22

203-54-51550

PLATE

23

203-54-51540

MAGNET

24

01224-40306

SCREW

25

20Y-43-15281

COVER

26

01010-50612

BOLT

26A

01010-50620

BOLT

|26A

01010-50612

BOLT

27

01643-30623

WASHER

28

08037-03614

GROMMET

29

203-06-56530

PLUG

30

20Y-43-15340

PLATE

31

01010-50616

BOLT

|31

01010-50612

BOLT

32

01642-20608

WASHER

33

01643-30623

WASHER

Выбрано товаров: 47