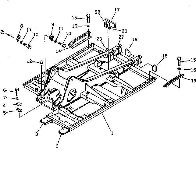
Запчасти Komatsu PC200-5 ОСНОВНАЯ РАМА (С F.O.P.S.) (№79-79¤89-) СИСТЕМА УПРАВЛЕНИЯ И ОСНОВНАЯ РАМА

Схема запчастей Komatsu PC200-5 - ОСНОВНАЯ РАМА (С F.O.P.S.) (№79-79¤89-) СИСТЕМА УПРАВЛЕНИЯ И ОСНОВНАЯ РАМА
FIT
1:1
100%

Артикул

Название

Примечание

Количество

1

20Y-956-1320

FRAME,REVOLVING

2

207-956-5132

BRACKET (WELDED)

3

207-956-5142

BRACKET (WELDED)

4

205-30-71181

COVER

5

205-30-71191

GASKET

6

01010-51230

BOLT

7

01643-31232

WASHER

8

20Y-46-11480

BRACKET

9

20Y-46-11490

BRACKET

10

01010-51225

BOLT

11

01643-31232

WASHER

12

20Y-46-11560

CAP

13

20Y-54-22870

BRACKET

14

20Y-54-22880

BRACKET

15

01010-51225

BOLT

16

01643-31232

WASHER

17

20Y-54-22160

SHEET

18

20Y-54-21460

SHEET

19

20Y-54-21470

SHEET

20

20Y-54-23410

SHEET

21

20Y-54-23420

SHEET

22

20Y-54-23470

SHEET

23

20Y-54-23520

SHEET

Выбрано товаров: 23