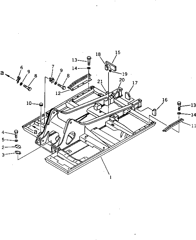
Запчасти Komatsu PC200-5 ОСНОВНАЯ РАМА (С КРЫШКОЙ) (№79-79¤89-) СИСТЕМА УПРАВЛЕНИЯ И ОСНОВНАЯ РАМА

Схема запчастей Komatsu PC200-5 - ОСНОВНАЯ РАМА (С КРЫШКОЙ) (№79-79¤89-) СИСТЕМА УПРАВЛЕНИЯ И ОСНОВНАЯ РАМА
FIT
1:1
100%

Артикул

Название

Примечание

Количество

1

20Y-46-11361

FRAME,REVOLVING

2

205-30-71181

COVER

3

205-30-71191

GASKET

4

01010-51230

BOLT

5

01643-31232

WASHER

6

20Y-46-11480

BRACKET

7

20Y-46-11490

BRACKET

8

01010-51225

BOLT

9

01643-31232

WASHER

10

20Y-46-11560

CAP

11

20Y-54-22870

BRACKET

12

20Y-54-22880

BRACKET

13

01010-51225

BOLT

14

01643-31232

WASHER

15

20Y-54-22160

SHEET

16

20Y-54-21460

SHEET

17

20Y-54-21470

SHEET

18

20Y-54-23410

SHEET

19

20Y-54-23420

SHEET

20

20Y-54-23470

SHEET

21

20Y-54-23520

SHEET

Выбрано товаров: 21