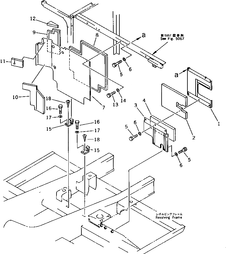
Запчасти Komatsu PC200-5 ПЕРЕГОРОДКА (ОТСЕК ДВИГАТЕЛЯ ПЕРЕДН.) (PCSS) (PCLCSS)(№-88) ЧАСТИ КОРПУСА

Схема запчастей Komatsu PC200-5 - ПЕРЕГОРОДКА (ОТСЕК ДВИГАТЕЛЯ ПЕРЕДН.) (PCSS) (PCLCSS)(№-88) ЧАСТИ КОРПУСА
FIT
1:1
100%

Артикул

Название

Примечание

Количество

1

20Y-54-15850

COVER

2

20Y-54-17350

SHEET

3

20Y-54-15860

COVER

4

20Y-54-15830

FELT

5

01010-51230

BOLT

6

20Y-54-12670

WASHER

7

20Y-54-15630

COVER

8

20Y-54-15120

FELT

9

20Y-54-15360

FELT

10

20Y-54-17250

SHEET

11

20Y-54-17330

SHEET

12

20Y-54-17340

SHEET

13

01010-51230

BOLT

14

20Y-54-12670

WASHER

15

20Y-54-12320

CATCH

16

01010-51230

BOLT

17

01643-31232

WASHER

18

01370-00512

SCREW

Выбрано товаров: 18