Запчасти Komatsu PC200-5 БЕЗ ОТОПИТЕЛЯ ЧАСТИ КОРПУСА

Схема запчастей Komatsu PC200-5 - БЕЗ ОТОПИТЕЛЯ ЧАСТИ КОРПУСА
FIT
1:1
100%

Артикул

Название

Примечание

Количество

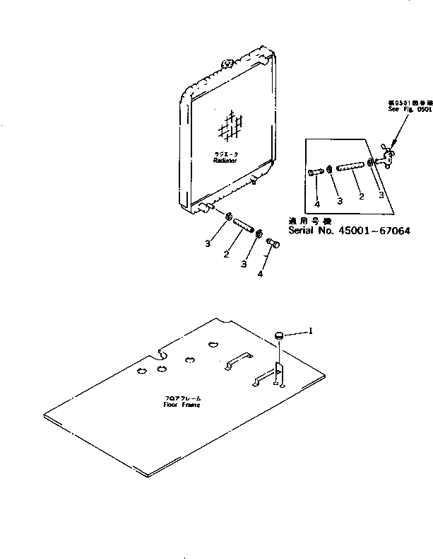
1

20Y-977-1120

CAP

2

195-979-4830

HOSE

|2

195-979-4830

HOSE

3

07281-00259

CLAMP

|3

07281-00259

CLAMP

4

205-03-62720

PLUG

|4

205-03-62720

PLUG

Выбрано товаров: 7