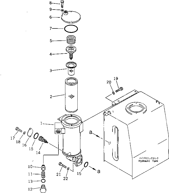
Запчасти Komatsu PC200-5 ОСНОВН. ФИЛЬТР. (KAITAI СПЕЦ-Я.)(№8-88) УПРАВЛ-Е РАБОЧИМ ОБОРУДОВАНИЕМ

Схема запчастей Komatsu PC200-5 - ОСНОВН. ФИЛЬТР. (KAITAI СПЕЦ-Я.)(№8-88) УПРАВЛ-Е РАБОЧИМ ОБОРУДОВАНИЕМ
FIT
1:1
100%

Артикул

Название

Примечание

Количество

1

20Y-60-11142

CASE

2

07063-01210

ELEMENT

3

206-60-41221

STRAINER

4

12R-60-11300

VALVE ASS'Y

5

12R-60-11390

SPRING

6

20Y-970-1830

COVER

7

07000-05180

O-RING

8

01010-51230

BOLT

9

01643-31232

WASHER

10

205-60-71230

POPPET

11

20Y-60-11530

SPRING

12

20Y-60-11540

PLUG

13

07002-05234

O-RING

14

205-60-71270

VALVE

15

07000-02080

O-RING

16

20Y-60-11390

PLATE

17

01010-51230

BOLT

18

01643-31232

WASHER

19

01010-51225

BOLT

20

01643-31232

WASHER

21

01010-51245

BOLT

22

01643-31232

WASHER

Выбрано товаров: 22