Запчасти Komatsu PC200-5 ПОДЪЕМ-ОПУСК. КЛАПАН(№78-) УПРАВЛ-Е РАБОЧИМ ОБОРУДОВАНИЕМ

Схема запчастей Komatsu PC200-5 - ПОДЪЕМ-ОПУСК. КЛАПАН(№78-) УПРАВЛ-Е РАБОЧИМ ОБОРУДОВАНИЕМ
FIT
1:1
100%

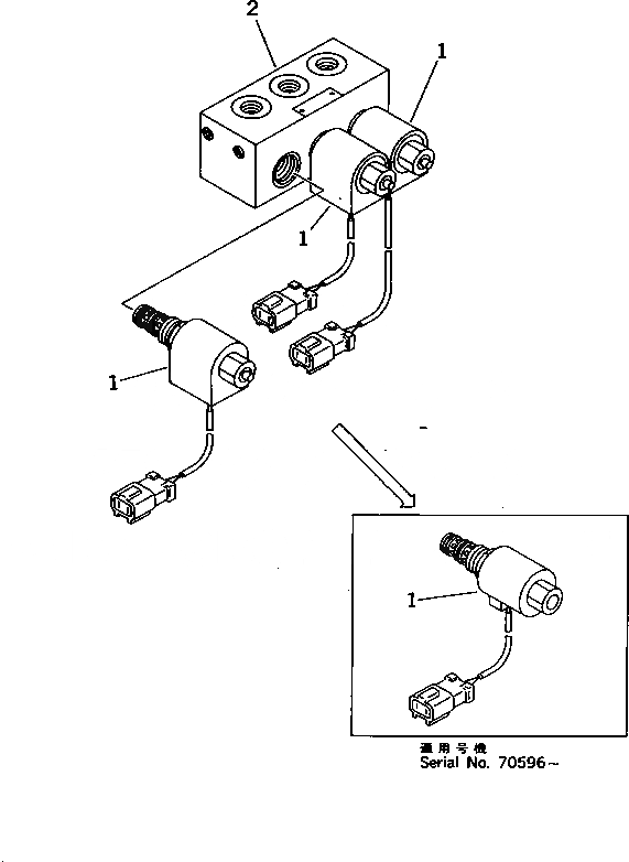
Артикул

Название

Примечание

Количество

1

20Y-60-11713

SOLENOID VALVE

|1

20Y-60-11712

SOLENOID VALVE

|1

20Y-60-11711

SOLENOID VALVE

|1

20Y-60-11710

SOLENOID VALVE

|1

20Y-60-11673

SOLENOID ASS'Y

|1

20Y-60-11672

SOLENOID ASS'Y

|1

20Y-60-11671

SOLENOID ASS'Y

|1

20Y-60-11670

SOLENOID ASS'Y

2

20Y-60-11720

BLOCK

Выбрано товаров: 9