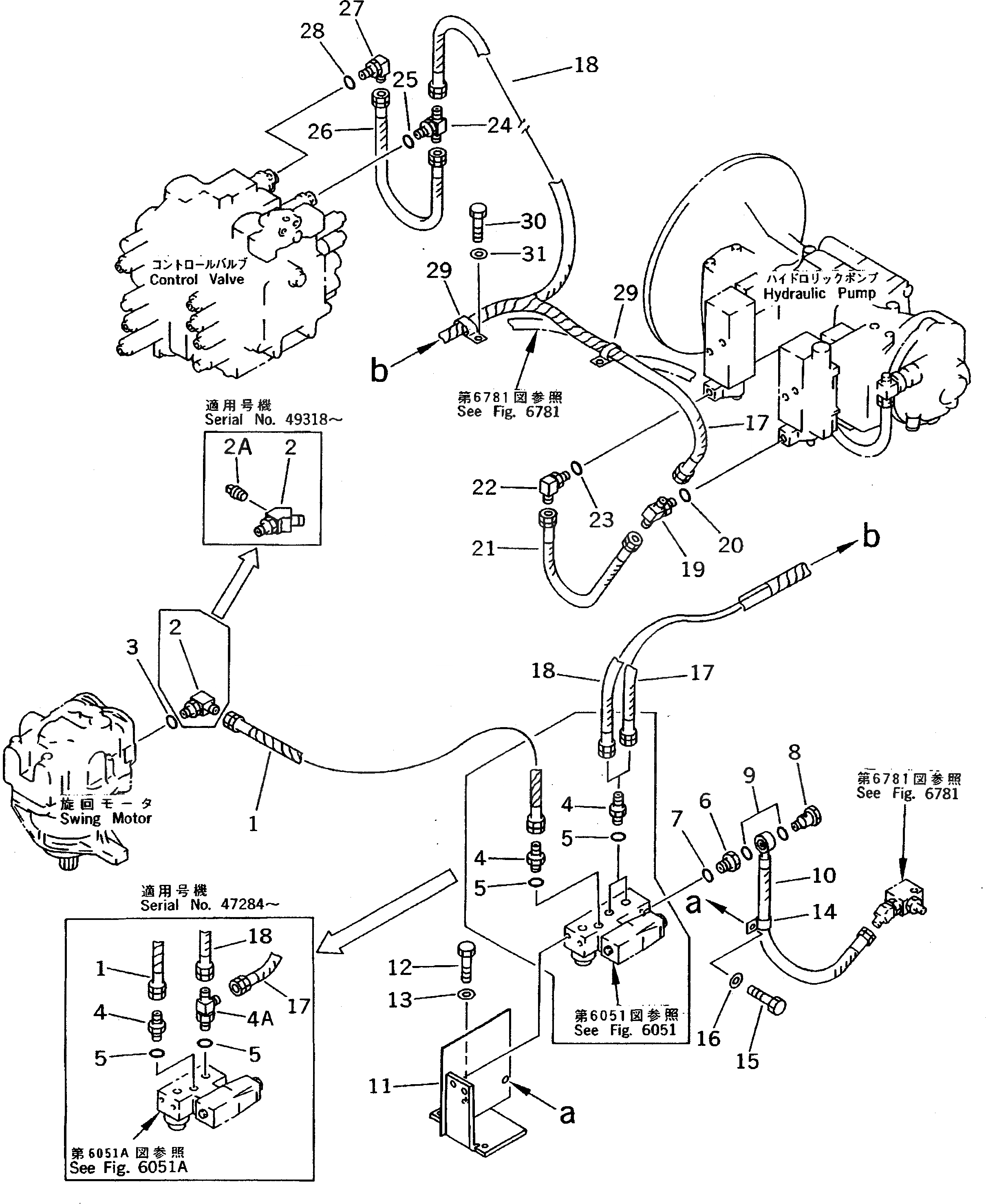
Запчасти Komatsu PC200-5 СОЛЕНОИДНЫЙ КЛАПАН ТРУБЫ (№-78¤79-88) УПРАВЛ-Е РАБОЧИМ ОБОРУДОВАНИЕМ

Схема запчастей Komatsu PC200-5 - СОЛЕНОИДНЫЙ КЛАПАН ТРУБЫ (№-78¤79-88) УПРАВЛ-Е РАБОЧИМ ОБОРУДОВАНИЕМ
FIT
1:1
100%

Артикул

Название

Примечание

Количество

1

20Y-62-17620

HOSE

2

20Y-62-17720

ELBOW

|2

207-62-33920

ELBOW

2A

07042-30108

PLUG

3

07002-01423

O-RING

4

205-62-55270

NIPPLE

|4

205-62-55270

NIPPLE

4A

21T-62-29960

TEE

5

07002-01423

O-RING

|5

07002-01423

O-RING

6

702-16-51890

FILTER ASS'Y

7

07002-02034

O-RING

8

706-46-56290

BOLT,EYE

9

07000-02018

O-RING

10

20Y-62-17580

HOSE

11

20Y-62-15683

BRACKET

|11

20Y-62-15682

BRACKET

12

01010-51225

BOLT

13

01643-31232

WASHER

14

08036-21014

CLIP

15

01010-51225

BOLT

16

01643-31232

WASHER

17

20Y-62-17660

HOSE,(RED)

18

20Y-62-17150

HOSE,(BLUE)

19

20Y-62-11780

TEE

20

07002-01423

O-RING

21

20Y-62-17380

HOSE

22

207-62-33920

ELBOW

23

07002-01423

O-RING

24

20Y-62-17120

TEE

25

07002-01623

O-RING

26

20Y-62-17370

HOSE

27

20Y-62-11940

ELBOW

28

07002-01623

O-RING

29

141-06-11220

CLIP

30

01010-51225

BOLT

|30

01010-51220

BOLT

31

01643-31232

WASHER

Выбрано товаров: 38