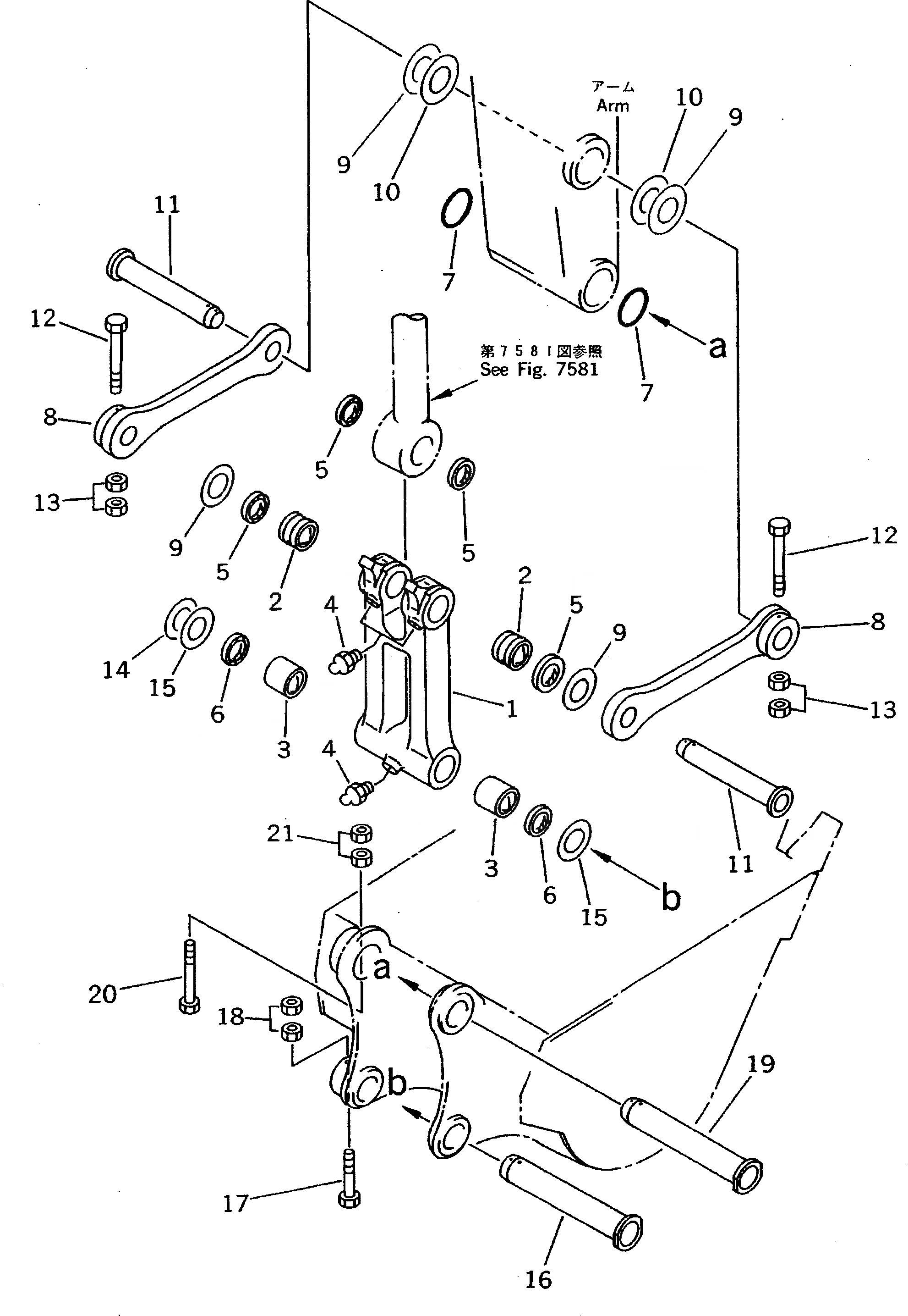
Запчасти Komatsu PC200-5 СОЕДИНИТЕЛЬН. ЗВЕНО РАБОЧЕЕ ОБОРУДОВАНИЕ

Схема запчастей Komatsu PC200-5 - СОЕДИНИТЕЛЬН. ЗВЕНО РАБОЧЕЕ ОБОРУДОВАНИЕ
FIT
1:1
100%

Артикул

Название

Примечание

Количество

G-1

20Y-70-X3001

LINK GROUP

|1

20Y-70-00070

LINK ASS'Y

1

LINK

2

205-70-73180

BUSHING

3

205-70-67150

BUSHING

4

07020-00000

FITTING,GREASE

5

21K-70-12180

SEAL,DUST

6

205-70-62140

SEAL,DUST

7

205-70-73280

O-RING

8

205-70-73130

LINK

9

20Y-70-11320

SPACER¤ 0.8MM

|9

20Y-70-11320

SPACER¤ 0.8MM

10

20Y-70-11330

SPACER¤ 1.5MM

|10

20Y-70-11330

SPACER¤ 1.5MM

11

205-70-73160

PIN

12

205-70-73190

BOLT

13

01580-12016

NUT

14

20Y-70-11340

SPACER¤ 0.8MM

15

205-70-51530

SPACER¤ 1.5MM

16

205-70-73270

PIN

17

205-70-73190

BOLT

18

01580-12016

NUT

19

205-70-73270

PIN

20

362-46-11210

BOLT

21

01580-12016

NUT

Выбрано товаров: 25