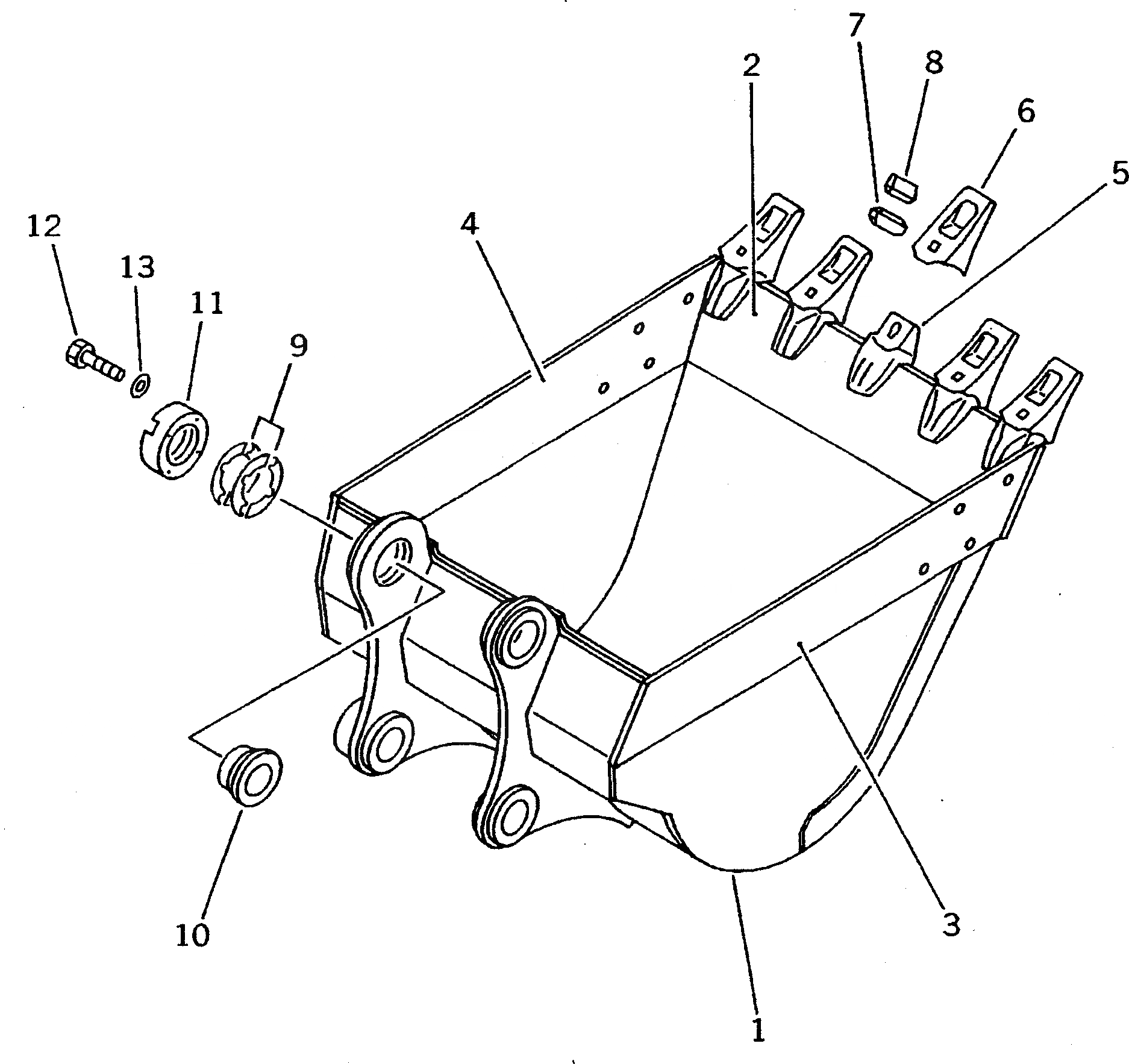
Запчасти Komatsu PC200-5 КОВШ .8M¤ MM (ВЕРТИКАЛЬН. ПАЛЕЦ)(№98-) РАБОЧЕЕ ОБОРУДОВАНИЕ

Схема запчастей Komatsu PC200-5 - КОВШ .8M¤ MM (ВЕРТИКАЛЬН. ПАЛЕЦ)(№98-) РАБОЧЕЕ ОБОРУДОВАНИЕ
FIT
1:1
100%

Артикул

Название

Примечание

Количество

1

20Y-920-2110

BUCKET

2

20Y-920-1120

PLATE (WELDED)

3

20Y-70-24130

PLATE,L.H. (WELDED)

4

20Y-70-24140

PLATE,R.H. (WELDED)

5

20Y-70-24210

ADAPTER (WELDED)

6

205-70-74272

TOOTH

7

205-70-74281

PIN

8

205-70-74291

LOCK

9

205-70-00100

SHIM ASS'Y

|9

SHIM¤ 0.5MM

|9

SHIM¤ 1.0MM

10

205-70-74381

SPACER

11

205-70-74391

PLATE

12

01010-32055

BOLT

13

01643-32060

WASHER

Выбрано товаров: 15