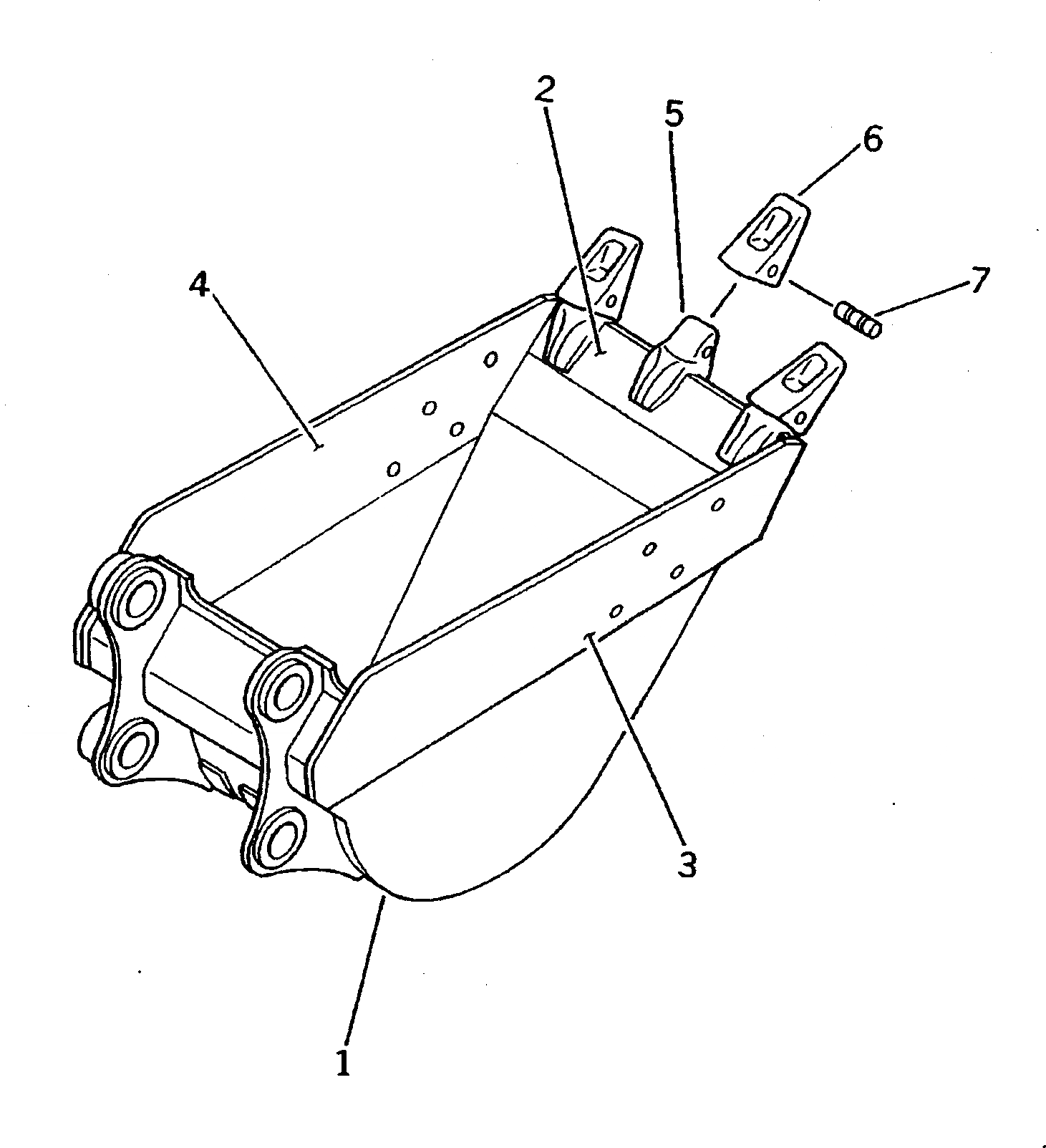
Запчасти Komatsu PC200-5 КОВШ .M¤ MM (ГОРИЗОНТАЛЬН. ПАЛЕЦ) РАБОЧЕЕ ОБОРУДОВАНИЕ

Схема запчастей Komatsu PC200-5 - КОВШ .M¤ MM (ГОРИЗОНТАЛЬН. ПАЛЕЦ) РАБОЧЕЕ ОБОРУДОВАНИЕ
FIT
1:1
100%

Артикул

Название

Примечание

Количество

1

205-926-7350

BUCKET

2

205-926-7321

PLATE (WELDED)

3

205-70-74162

PLATE,L.H. (WELDED)

4

205-70-74172

PLATE,R.H. (WELDED)

5

205-939-7120

ADAPTER (WELDED)

6

205-70-19570

TOOTH

7

09244-02496

PIN

Выбрано товаров: 7