Запчасти Komatsu PC200-5 РАДИАТОР(№-88) КОМПОНЕНТЫ ДВИГАТЕЛЯ И ЭЛЕКТРИКА

Схема запчастей Komatsu PC200-5 - РАДИАТОР(№-88) КОМПОНЕНТЫ ДВИГАТЕЛЯ И ЭЛЕКТРИКА
FIT
1:1
100%

Артикул

Название

Примечание

Количество

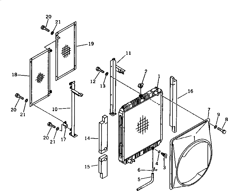
1

206-03-51110

CORE ASS'Y

2

20Y-03-11280

CAP

3

205-03-62660

PLUG

4

07000-01007

O-RING

5

203-03-41411

HOSE

|5

205-03-71230

HOSE

6

20Y-03-11330

CLIP

7

206-03-51131

SHROUD

8

01010-50816

BOLT

9

01643-30823

WASHER

10

20Y-03-11352

FRAME

11

20Y-03-11342

FRAME

12

01010-50816

BOLT

13

01643-30823

WASHER

14

20Y-03-11313

SEAL

15

20Y-03-11292

SEAL

16

206-03-51322

SEAL

17

20Y-03-11550

BRACKET

18

206-03-51350

NET

19

20Y-03-11541

NET

20

01010-50816

BOLT

21

01643-30823

WASHER

Выбрано товаров: 22