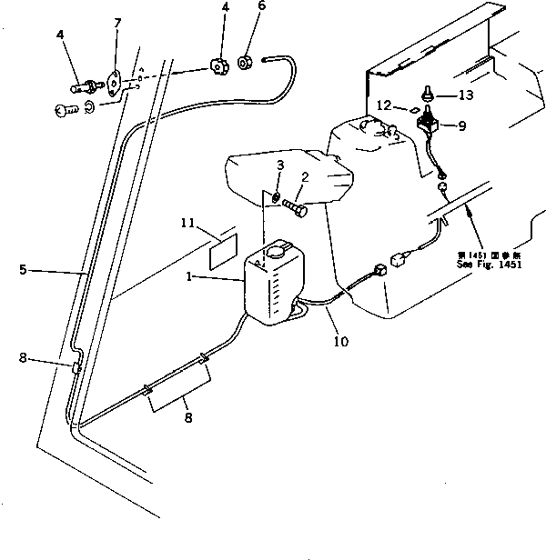
Запчасти Komatsu PC200-5C ОМЫВАТЕЛЬ СТЕКЛА (ДЛЯ УДЛИНН. РЫЧАГ УПРАВЛ-Е) ЧАСТИ КОРПУСА

Схема запчастей Komatsu PC200-5C - ОМЫВАТЕЛЬ СТЕКЛА (ДЛЯ УДЛИНН. РЫЧАГ УПРАВЛ-Е) ЧАСТИ КОРПУСА
FIT
1:1
100%

Артикул

Название

Примечание

Количество

G-1

20Y-06-X9011

WINDOW WASHER GROUP

|$$2

====================

1

206-06-15230

TANK

2

01010-50612

BOLT

3

01643-30623

WASHER

4

205-06-61220

NOZZLE ASS'Y

5

205-06-71470

HOSE

6

205-06-71610

NUT

7

205-06-71590

BRACKET

8

08051-00801

CLIP

9

20Y-06-15551

SWITCH

10

20Y-06-15561

WIRING HARNESS

11

09699-03000

PLATE, CAUTION,(ENGLISH-ARABIC)

11

09699-01000

PLATE, CAUTION,(SPANISH)

11

09699-02000

PLATE, CAUTION,(GERMAN)

11

09699-04000

PLATE, CAUTION,(RUSSIAN)

11

09699-05000

PLATE, CAUTION,(FRENCH)

11

09699-00500

PLATE, CAUTION,(INDONESIAN)

11

09699-00400

PLATE, CAUTION,(PERUSIAN)

11

09699-00100

PLATE, CAUTION,(JAPANESE)

11

09699-00200

PLATE, CAUTION,(ARABIC)

11

09699-03000

PLATE, CAUTION,(ENGLISH)

11

09699-06000

PLATE, CAUTION,(ITALIAN)

11

09699-09000

PLATE, CAUTION,(CHINESE)

12

203-00-52260

PLATE, OPERATING

13

203-06-41610

CAP

|$$27

====================

Выбрано товаров: 27