Качественные детали и логистика
Оригинальные и аналоговые запчасти с доставкой по России, Казахстану и Беларуси
©2022 PartSell ООО "Система" ИНН 2463123282 ОГРН 1212400004838
Центральный офис: г. Красноярск, Академика Киренского, д.87, пом.4
Телефон: 8 (800) 777-65-74 Email: zakaz@partsell.ru
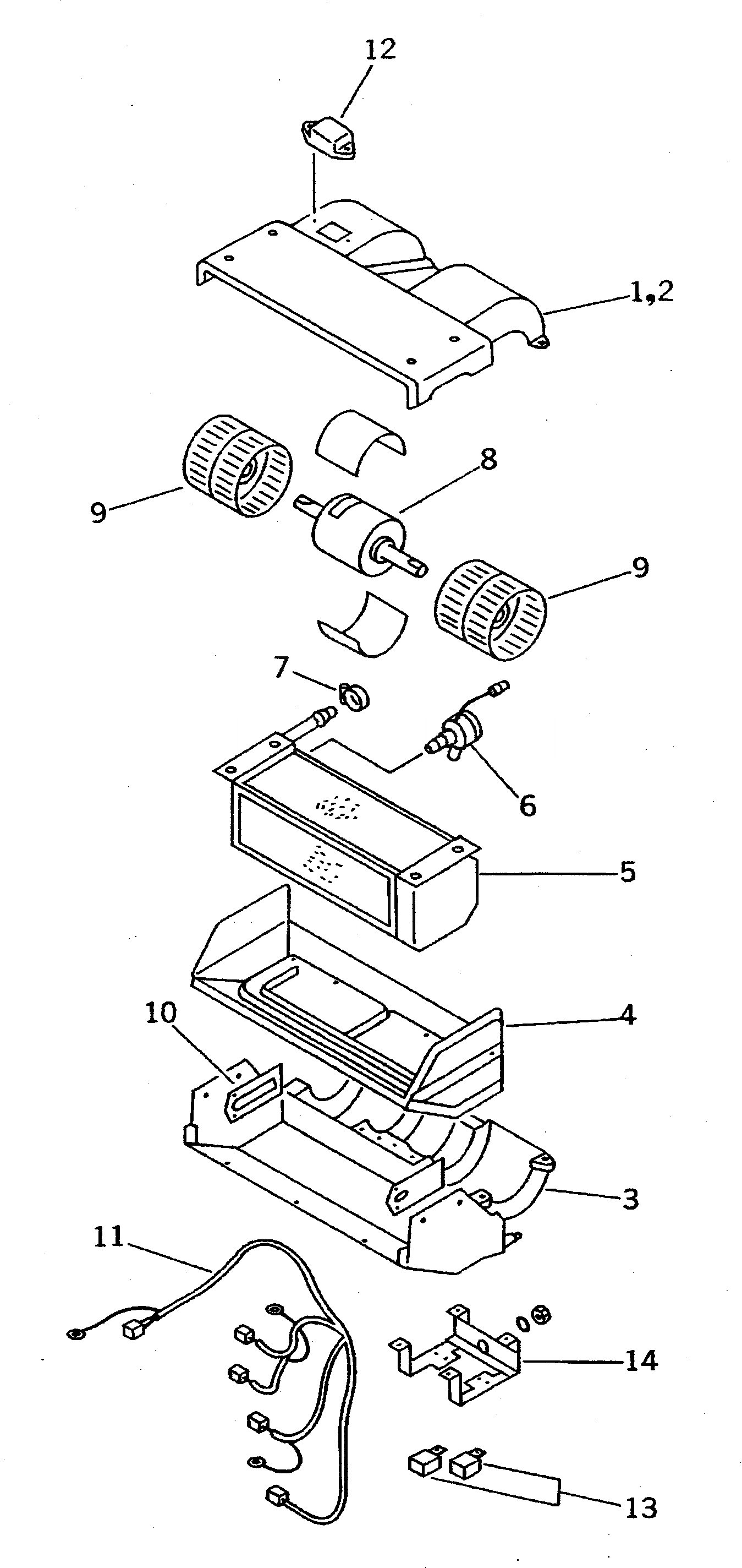
ОХЛАДИТЕЛЬ В СБОРЕ (/)
№
Артикул
Название
Примечание
Количество
|$0
20Y-978-1101
COOLER ASS'Y
|$1
20Y-978-1100
|$$3
THESE ASSEMBLY CONSISTS OF ALL PARTS SHOWN IN FIGS.5931 AND 5932.
|$3
CJECS74502
COOLER SUB ASS'Y
|$4
CJECS73602
1
CJ009-5316
CASE
2
CJ024-3970
PAD
3
CJ009-2547
4
CJ024-4070
5
CJ001-2574
EVAPORATOR
CJ001-0320
6
CJ002-0839
EXPANSION
CJ002-0813
7
CJ027-5838
CLAMP
8
CJ005-3928
MOTOR
9
CJ006-0240
FAN
10
CJ017-1866
RAIL
11
CJ019-24311
WIRING HARNESS
12
CJ018-7541
RESISTOR
13
CJ042-3118
RELAY
14
CJ017-0414
STAY
Выбрано товаров: 0