Запчасти Komatsu PC200-5C ГИДР. НАСОС. (/) (НАСОС SUB В СБОРЕ¤ ЦЕНТР.) УПРАВЛ-Е РАБОЧИМ ОБОРУДОВАНИЕМ

Схема запчастей Komatsu PC200-5C - ГИДР. НАСОС. (/) (НАСОС SUB В СБОРЕ¤ ЦЕНТР.) УПРАВЛ-Е РАБОЧИМ ОБОРУДОВАНИЕМ
FIT
1:1
100%

Артикул

Название

Примечание

Количество

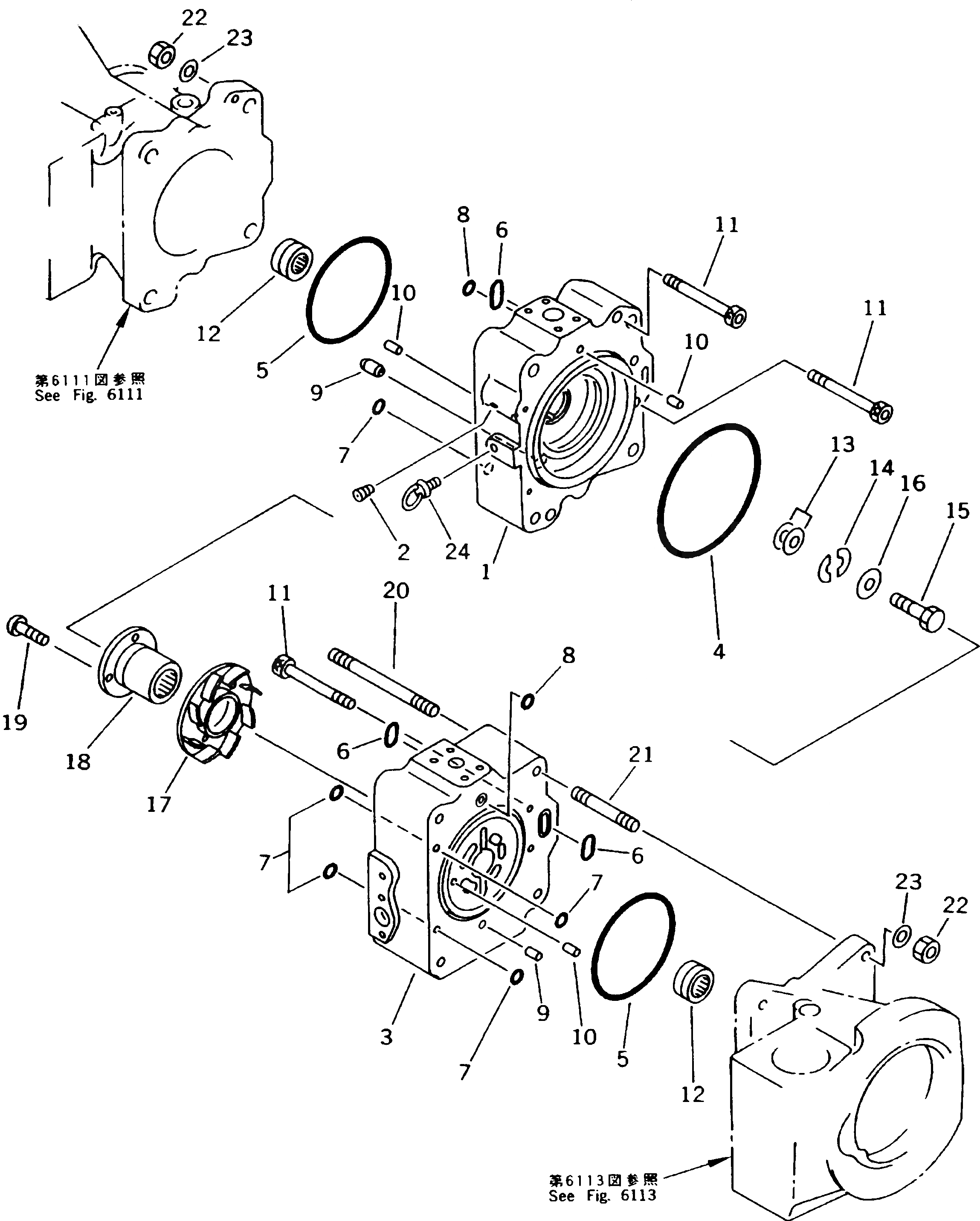
G-1

20Y-60-X1261

PUMP GROUP

|$$2

====================

|$2

708-25-04051

PUMP ASS'Y

|$3

708-25-04014

PUMP ASS'Y

|$4

708-25-04013

PUMP ASS'Y

|$5

708-25-04012

PUMP ASS'Y

|$$7

THESE ASSEMBLIES CONSIST OF ALL PARTS SHOWN IN FIGS.6101 TO 6151.

|$7

708-25-04151

PUMP SUB ASS'Y

|$8

708-25-04112

PUMP SUB ASS'Y

|$9

708-25-04111

PUMP SUB ASS'Y

|$$11

THESE ASSEMBLIES CONSIST OF ALL PARTS SHOWN IN FIGS.6111 TO 6113.

|$11

708-25-00390

END CAP ASS'Y,FRONT

1

CAP,END,FRONT

2

PLUG

3

708-25-12620

CAP,END,REAR

4

07000-05165

O-RING

5

07000-02135

O-RING

6

07000-03032

O-RING

7

07000-11009

O-RING

7

708-25-13910

O-RING

8

07000-12015

O-RING

8

708-25-13930

O-RING

9

6130-21-1910

PIN

10

720-68-19610

PIN

11

708-25-12530

BOLT

12

708-2E-12260

BEARING

13

708-25-05021

SHIM KIT

13

SHIM, 0.1MM

13

SHIM, 0.15MM

13

SHIM, 0.2MM

13

SHIM, 0.5MM

14

708-25-12950

PLATE

15

706-74-40320

BOLT

16

01643-31032

WASHER

17

708-25-12542

IMPELLER

18

708-25-12552

COUPLING

19

706-73-42270

SCREW

20

01141-81620

STUD

21

01140-81645

STUD

22

01582-01613

NUT

23

01643-31645

WASHER

24

04530-01018

BOLT,EYE

|$$43

====================

Выбрано товаров: 43