Запчасти Komatsu PC200-5C ПЕРЕКЛЮЧАТЕЛЬ И METER (ДЛЯ УДЛИНН. РЫЧАГ УПРАВЛ-Е)(№-8) КОМПОНЕНТЫ ДВИГАТЕЛЯ И ЭЛЕКТРИКА

Схема запчастей Komatsu PC200-5C - ПЕРЕКЛЮЧАТЕЛЬ И METER (ДЛЯ УДЛИНН. РЫЧАГ УПРАВЛ-Е)(№-8) КОМПОНЕНТЫ ДВИГАТЕЛЯ И ЭЛЕКТРИКА
FIT
1:1
100%

Артикул

Название

Примечание

Количество

G-1

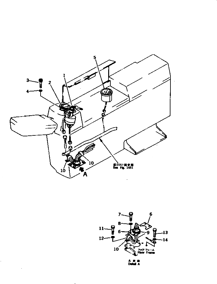
20Y-06-X1180

CAB HARNESS GROUP

|$$2

====================

1

20Y-06-16240

SWITCH ASS'Y

2

7825-30-1301

DIAL,FUEL

3

01252-40410

BOLT

4

01601-20410

WASHER,SPRING

5

203-06-56240

SERVICE METER ASS'Y

|$$8

====================

6

20Y-06-15360

PLATE

7

01010-51225

BOLT

8

01643-31232

WASHER

9

21T-06-71870

GROMMET

10

208-06-19170

CLIP

11

01010-51225

BOLT

12

01643-31232

WASHER

13

01010-51020

BOLT

14

01643-31032

WASHER

Выбрано товаров: 17