Запчасти Komatsu PC200-5C СТРЕЛА(№89-) РАБОЧЕЕ ОБОРУДОВАНИЕ (ЭКСКАВАТ.)

Схема запчастей Komatsu PC200-5C - СТРЕЛА(№89-) РАБОЧЕЕ ОБОРУДОВАНИЕ (ЭКСКАВАТ.)
FIT
1:1
100%

Артикул

Название

Примечание

Количество

|$0

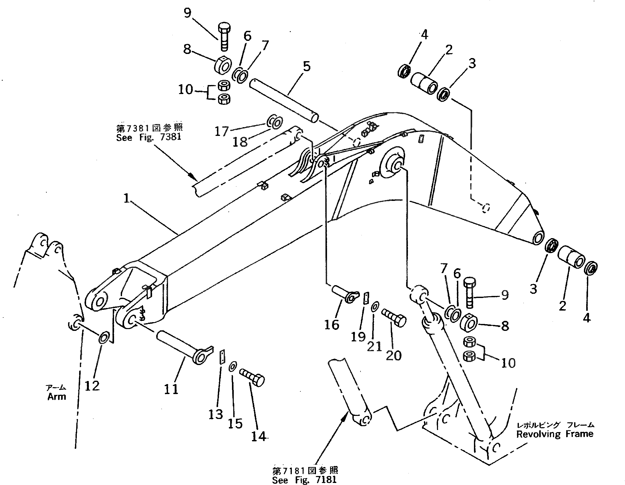
20Y-70-00053

BOOM ASS'Y

1

BOOM

2

205-70-65762

BUSHING

3

07145-00090

SEAL,DUST

4

07145-00090

SEAL,DUST

5

206-70-51190

PIN

6

20Y-70-11390

SPACER, 0.8MM

7

20Y-70-11370

SPACER, 1.5MM

8

20Y-70-11170

PLATE

9

20Y-70-11380

BOLT

10

01580-12016

NUT

11

205-70-65680

PIN

12

20Y-70-11360

SPACER, 0.8MM

13

205-70-71310

PLATE

14

01010-51235

BOLT

15

01643-31232

WASHER

16

20Y-70-11180

PIN

17

20Y-70-11340

SPACER, 0.8MM

18

205-70-51530

SPACER, 1.5MM

19

205-70-66580

PLATE

20

01010-51235

BOLT

21

01643-31232

WASHER

Выбрано товаров: 22