Запчасти Komatsu PC200-5C СОЕДИНИТЕЛЬН. ЗВЕНО РАБОЧЕЕ ОБОРУДОВАНИЕ (ЭКСКАВАТ.)

Схема запчастей Komatsu PC200-5C - СОЕДИНИТЕЛЬН. ЗВЕНО РАБОЧЕЕ ОБОРУДОВАНИЕ (ЭКСКАВАТ.)
FIT
1:1
100%

Артикул

Название

Примечание

Количество

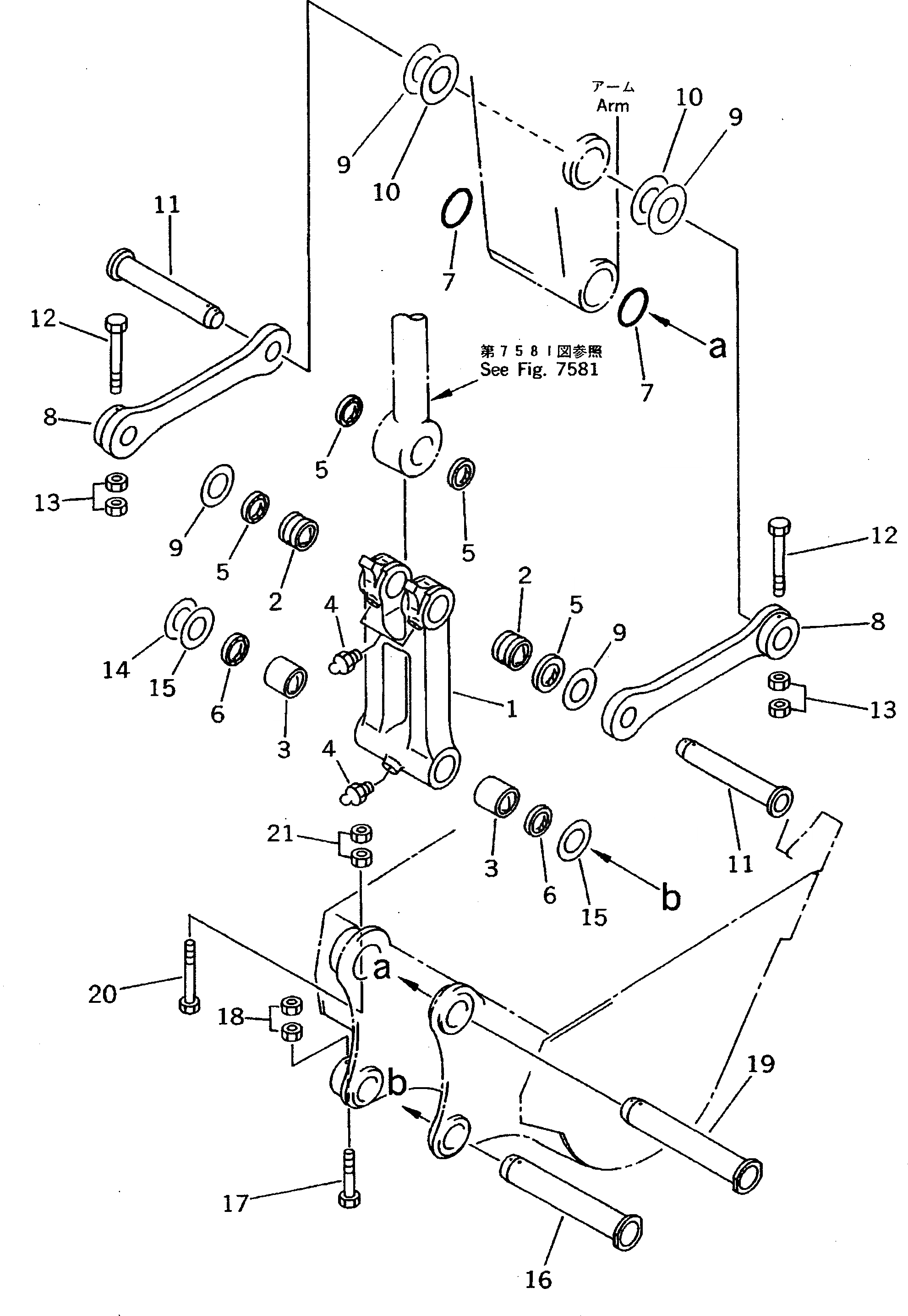
G-1

20Y-70-X3001

LINK GROUP

|$$2

====================

|$2

20Y-70-00070

LINK ASS'Y

1

LINK

2

205-70-73180

BUSHING

3

205-70-67150

BUSHING

4

07020-00000

FITTING,GREASE

5

21K-70-12180

SEAL,DUST

6

205-70-62140

SEAL,DUST

7

205-70-73280

O-RING

8

205-70-73130

LINK

9

20Y-70-11320

SPACER, 0.8MM

9

20Y-70-11320

SPACER, 0.8MM

10

20Y-70-11330

SPACER, 1.5MM

10

20Y-70-11330

SPACER, 1.5MM

11

205-70-73160

PIN

12

205-70-73190

BOLT

13

01580-12016

NUT

14

20Y-70-11340

SPACER, 0.8MM

15

205-70-51530

SPACER, 1.5MM

16

205-70-73270

PIN

17

205-70-73190

BOLT

18

01580-12016

NUT

19

205-70-73270

PIN

20

362-46-11210

BOLT

21

01580-12016

NUT

|$$27

====================

Выбрано товаров: 27